ME-165/G SWR-POWER METER 1.8–30 MHz
Ingebouwde 600 W dummyload en stille afstemming, ook geschikt om na te bouwen!
Click ME-165G eng
26 jan 2013 Update schema en aanvulling tekst.

SWR-POWER METER ME165/G
US ARMY MEETAPPARATUUR
Een ME-165/G is een aanpassingseenheid ontworpen voor een T-368 400 W zender. Het werd door diverse fabrikanten voor het Amerikaanse leger gemaakt als: SWR-POWER METER ME-165/G door Barker & Williamson, Inc. en als STANDING WAVE RATIO-POWER METER ME165/G door Radalab, Inc.
|
|
Links ME-165/G van BARKER & WILLIAMSON en rechts ME165/G van RADALAB. |
De meters zien er iets anders uit en op de kast is bij Radalab de tekst erop gedrukt en bij B & W is dat ingegroefd en met lak opgevuld.
Dit voor ons radiozendamateurs nuttige apparaat wordt zelden als zodanig herkend omdat men niet weet waarvoor het gebruikt kan worden.
Het apparaat is voor mij onmisbaar geworden bij de vele testen en experimenten met antennes en antennetuners.
STILLE AFSTEMMER
Het is een zogenaamde stille afstemmer en het meetsysteem komt tussen zender en antenne of zender en ATU. Bij het afstemmen of afregelen wordt het zendvermogen naar een dummy load geschakeld. Een klein gedeelte van het HF wordt benut voor het voeden van een brugschakeling waarmee de SWR van het antennesysteem gemeten kan worden. Het voordeel is dat een zender correct belast is met 50 Ω en dat iemand anders geen storing ondervindt, omdat er weinig vermogen uitgestraald wordt. Bij een ME-165/G is dat maar 50–100 mW.
ME-165/G
|
|
Met behulp van het schema is dit systeem ook goed na te bouwen. |
|
|
Ingebouwde funkties: |
1. Dummyload 50 Ω/600 W 2. Powermeter ≤ 600 W |
3. SWR meter 4. Stille afstemmer |
Dit schema werd getekend volgens het printboard in mijn Barker & Williamson ME-165G, omdat het origineel niet in mijn bezit was.

In een later stadium kreeg ik van ON4FVQ een kopie van US ARMY Technical Manual TM 11-6625-333-15 March 1971 waar het bovenstaande schema in stond.
De diodes zijn 1N69A en de nummering van de componenten is anders dan op mijn printboard, maar in het "militaire" schema staat dat tussen haakjes.
DUMMYLOAD 50 Ω
Deze (fig») 50 Ω kunstantenne of dummyload is samengesteld uit 12 × 600 Ω/50 W parallel geschakelde 5% inductievrije weerstanden. Om zelfinducties van de bedrading uit te stemmen zijn twee capaciteiten aan de bevestigingspunten aangebracht en een condensator parallel over de connector aan de ingang gemonteerd.
In de handleiding wordt gewaarschuwd om niet langdurig te belasten met meer dan 250 W zendvermogen, maar intermitterend te zenden.
Door grote warmteontwikkeling en compacte constructie kan er binnen iets beschadigd worden. Uit mijn ervaring is echter gebleken dat met 600 W belasten er geen probleem is als dat niet langer dan 10 minuten achter elkaar gebeurt. Laat de dummy load voldoende afkoelen en ga dan weer verder.
Als een krachtige ventilator onder de kast tegen het ventilatierooster wordt geplaatst, denk ik dat een langdurige belasting met 600 W mogelijk wordt.
Op de weerstanden staat 600 Ω/50 W en dat is een totaalvermogen van 12 × 50 = 600 W.

Twee omgebouwde US TV-antenne "coaxiale" schakelaars werden aangebracht om te kiezen uit 2 antennes of een externe dummyload.
Met de zender aan en de schakelaar in de stand ADJUST wordt met de potmeter ADJUST (R19) de wijzer op het einde van de schaal ingesteld. Doe deze handeling zo kort mogelijk. Daarna kan men in de stand SWR het gereflecteerde vermogen aflezen en daarbij een tuner of antenne afregelen op zo laag mogelijke SWR. Vervolgens schakelt men OPERATE in en dan is het apparaat buiten werking omdat het volle vermogen van de zender doorgeschakeld wordt. U ziet hierboven het apparaat zoals dat bij mij in gebruik is met aan de frontplaat twee "coaxiale" schakelaars om te kiezen uit twee antennes of een externe dummyload voor meer experimenteel zendvermogen.
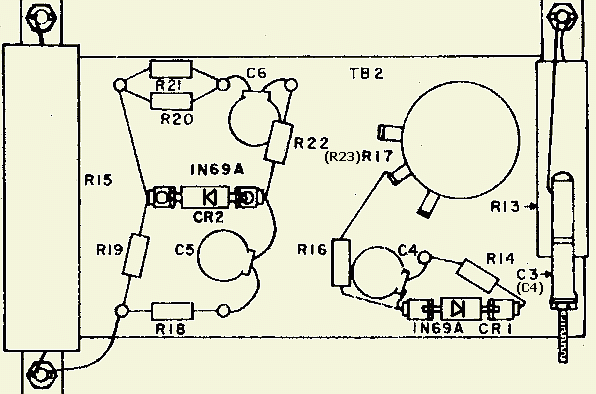
DETAILS SCHEMA

Bedrading is uitgevoerd op draadsteuntjes.
De montage is niet coaxiaal uitgevoerd en voor het uitstemmen van de door de bedrading gevormde zelfinductie is C1 over de connector aan de ingang geplaatst. Verder zorgen C2 en C3 aan de montageplaten van de twaalf weerstanden voor verdere uitstemming. R13, R14, R15, R17 en R20 zijn inductievrije weerstanden. C14 compenseert de bedradingcapaciteit over R21. De eigenlijke brugschakeling bestaat uit 3 × 50 Ω (R14, R15, R17) en de te meten impedantie tussen punt C en punt D. Parallel aan het meetpunt staat 1.2 kΩ (R18) via 1 nF (C7). Om deze weerstand te compenseren en de brug in evenwicht te brengen is ook parallel aan R17 een weerstand van 1.2 kΩ (R16) gemonteerd. Als u van plan bent om dit ontwerp na te bouwen is het verstandig om de hiernaast getekende componenten in een apart metalen doosje te bouwen.
Bij te koop aangeboden ME-165/G's is vaak een van de 1N69A diodes defect. Deze kan vervangen worden door type 1N277. Bij een zelfbouwapparaat voldoet een goede germanium diode.
LET OP In mijn apparaat waren CR1 en CR2 defect of niet in orde. Bij gebrek aan originele componenten werden zij vervangen door een germanium diode voor CR1 en een 1N4148 voor CR2. Met de laatste verkreeg ik een vrij goed kloppende Wattmeter schaal.
Na jaren ging de SWR meter instabiel gedrag vertonen. Na een onderzoek van ongeveer twee dagen werd de oorzaak gezocht in de meter. Door oxidatie gingen de aansluitklemmen als diode werken. Na reiniging werd voor de zekerheid C8 vervangen door 10 nF. Inmiddels waren tijdens het onderzoek voor C6 en C7 een 10 nF condensator gemonteerd.
Bij wijze van experiment ging de CR1 germanuim diode eruit en kwam een Schottky BAT85 ervoor in de plaats. Daardoor werd de meting gevoeliger zodat er een nauwkeuriger SWR = 1 aanwijzing was. Het zal duidelijk zijn dat het zo gebleven is!
KALIBREREN

Kalibreren of ijken gaat het beste met een geleende nauwkeurige in-line Wattmeter. Zet de schakelaar in de stand POWER en start met 1.8 MHz en bij voorbeeld 100 W. Draai aan R17 (R23) zodat de meter 100 W aanwijst. Schakel over naar 28 MHz en regel met C3 (C4) de meter op 100 W. Het zal blijken dat de aanwijzing op 160 m niet meer klopt. Herhaal deze procedure net zo lang tot in het lage en het hoge frequentiegebied de meter hetzelfde aanwijst.
Controle van de elke afregeling dient steeds te geschieden met de frontplaat teruggeplaatst, goed tegen de kast aangedrukt en de kast rustend op de onderkant om een goed contact met de afscherming te hebben.
Omdat de bedrading van en naar schakelaar en dummy load niet met coaxkabel is uitgevoerd kan vooral op de 10 m band de SWR ≠ 1 tussen zender en ME-165/G zijn. Wanneer de twee dikke witte draden naar de weerstanden met kabelbinders dicht tegen elkaar gelegd worden of samengebundeld zijn met krimpkous, treedt er al een duidelijke verbetering op. Als u 50 Ω coaxkabel gebruikt van: ingangsplug naar schakelaar, van schakelaar naar de interne 50 Ω dan wordt de SWR = 1 op alle banden van 1.8–30 MHz.
NAUWKEURIGHEID
Als met de interne potmeter R17 (R23) en buistrimmer C3 (C4) het systeem qua vermogen gekalibreerd wordt, dan is de nauwkeurigheid van de wattmeterschaal verrassend goed. Naar mijn schatting is de meetfout ongeveer 5 % en is in elk geval beter dan de meeste bij ons in gebruik zijnde SWR/PWR meters.
SWR METING
Bij sommige niet door B & W gemaakte ME-165/G's is de SWR niet kleiner dan 1.5 als het apparaat bij 28 MHz met een externe dummy load wordt afgesloten. Dat komt omdat het draadstuk A–B korter is dan de verbinding van punt C naar de uitgang. Door de draad van punt A naar punt B te verwijderen en te vervangen door een langere draad kan door met de lengte te experimenteren afgeregeld worden op SWR = 1.
CONSTRUCTIE
Alles is gemonteerd aan de frontplaat en dat maakt een goed HF dicht contact met de kast omdat op de juiste plaatsen geen laklaag is aangebracht. Verder is er een afscherming aangebracht tussen de weerstanden en de meetschakeling. Boven en onder de weerstanden zijn ventilatieopeningen aangebracht.
(Klik om te vergroten)
![]()