Reacties vindt je onderaan deze pagina. Je kunt daar ook een reactie met afbeelding achterlaten. Berichten worden eerst gemodereerd alvorens ze daadwerkelijk zichtbaar zijn.
Het moest er een keer van komen. Een pagina over 3 meter FM zenders.
Zendamateurs mogen zelf zenders bouwen. Binnen de grenzen van hun licentie mogen deze zenders worden gebruikt op antenne of dummyload. Vanzelfsprekend zijn zendamateurs verplicht ervoor te zorgen dat zelfbouw apparatuur aan de regels voldoet en geen storing veroorzaakt. Alles wat hier niet onder valt, zoals 3 meter FM zenders, zijn bij wet illegaal en mogen niet worden gebruikt. Als dit wel gebeurt is men in overtreding en kan dit tot ernstige problemen leiden in de vorm van verstoring van ander radioverkeer, boetes, inbeslagname, enzovoort. Agentschap Telecom reguleert en controleert de etherfreqenties. AT voert strenge sancties uit als er sprake is van illegaal gebruik en/of storende zenders, waarvan akte!
Aan de inhoud van de blog kunnen geen rechten worden ontleend, het is vrije informatie en een ieder is beslist zelf verantwoordelijk voor toepassing van schakelingen en uitvoering van de hobby. Houd dus rekening met de wettelijke regelgeving.
Het begin


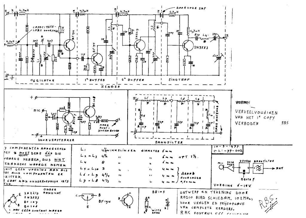
Een bepaald deel van schema’s uit de begin periode is op zolder teruggevonden. Ongekuist gescand en gepubliceerd, met typefoutjes, wat wil je als beginnend hobbyist en 11 jaar…
Rond 1980 begon het met een zendertje van Radiohuis Van der Bend in Vlaardingen. Een Jostikit zendertje. Leuk detail, ze pretendeerden dat er 1,5 Watt uit kom komen (met een 2N2219).
Er heeft van alles op het balcon gestaan. Niets wetend van radiogolven werd een tankspriet aangesloten en het kwam wel zeker een paar straten ver. Daar woonde iemand die dit kon volgen en zo werd het eerste contact gelegd. Die persoon is na ruim 40 jaar nog steeds een goede vriend, zo zie je maar.
De voortgang
Van het een kwam het ander. Van de Jostikit kwam een andere Jostikit in een pertinax doosje. Zelfde principe maar met een 2N3866 en van basis naar + en – 4,7K en 4,7 nF parallel. Nog steeds op de tankspriet en het kwam weer iets verder. Wel was het verplicht om niet te bewegen omdat met fysieke beweging in de buurt van het zendertje ook de frequentie op drift raakte.
Het volgende nog originele schema uit die tijds kwam van het vriendje verderop en zette de basis voor jarenlang van expirimenteren, er zijn er denk ik wel tientallen van gebouwd van twee tot vijftrapper, de meeste ervan zwevend gebouwd in zo’n dubbelzijdig printplaatkastje wat aan elkaar was gesoldeerd. Je kon eindelijk het kastje aanraken zonder van frequentie te veranderen. Kan me nog herinneren dat die BF194 transistors uit oude kleurentelevisies werden gesloopt. Daar zaten van die blikjes in met printjes die vol zaten met dit type. Leuke tijd was dat.


Volgens het bovenstaande schema gebouwd rond 1990. Toen soldeerde ik alles nog zwevend. Dit werkt perfect bij HF. Met in de eindtrap hier de welbekende MRF 237.



Hier nog zo’n schema afkomstig van RadioRob. Door op de afbeelding te klikken, vergroot het plaatje.

Een zender uit de goede oude tijd van de bevriende zendamateur. De oscillator is niet met een BF194 zoals in het bovenstaande schema, maar met een FET, de BF245. Met in de eindtrap de vertrouwde MRF237. Deze transistor werd vaak vervangen door de SD1127 omdat de indruk bestond dat die wat robuuster was (en toen ook goedkoper dan de MRF237). 5 Watt volgens schema is ambitieus. 3 Watt zonder moeite en “schoon” is realistischer.

Stereo
Stereo mocht niet ontbreken. 2 x raden is voldoende voor het juiste antwoord wat hier werd gebruikt in die tijd. De FRM stereo coder (FRM januari 1983).
Het artikel uit de FRM. Een simpel door te voeren verbetering om het ding minder te laten ruisen bleek vervanging van de uA 741’s door de iets duurdere CA3140.


Een terug gevonden (ongeboord) reserve printje doet herinneren aan die tijd…

Kleine doorstuurzendertjes
In de tijd dat het onderstaande zendertje in elkaar werd gezet, rond 1994, bestonden de goedkope legale mp3 zendertjes die enkele microWatts leveren, nog niet . Nee, toen werd dit gebouwd, een tweetraps zendertje met BF900 en een BF199 als finale, goed voor iets van 50 milliWatt. Op een dummyload hoorbaar in huis, met opsteekantenne in de straat en op een goede buitenantenne, afhankelijk van omstandigheden, tot zeg eens een kilometer ver. Avonden lang werd er geduplext. Tussendoor werd muziek gedraaid met zelf ingesproken jingles.
Hier is zo’n jingle te beluisteren, klik hier voor het audiofragment dat uit de jaren 90 stamt.

In het begin paste ik een oscillator toe met de BF194 zoals in het eerst getoonde schema. Daarna de BF900 vanwege zijn prima stabiliteit en meteen goed op frequentie na inschakelen. Hier het schema:

R1 : 100K
R2 : 220K
R3 : 150
R4 : 47K
R5 : 47K
R6 : 47K
R7 : 100
C1 – C4, C6 & C14 : 1nF ker
C5 : 100uF/25V
C7 : 100nF mks
C8 : 2,7pF ker
C9 : 3,3pF ker
C10 : 4,7pF ker
C11 : 10pF ker
C12 : 18pF ker
C13 : 3,9pF ker
C15 : 1nF ker
T1 : BF900 of BF961
D : BB405B
PM : pot. meter 10k lin.
T : 40pF
FX : varkensneusjes
VR : 78L08 or78L09
L : 4W, int. dia. 8mm, verzilverd draad 1mm.
Als zo’n doorstuurzendertje dan net niet ver genoeg kwam, dan zette je er toch een torretje achter? Hier een 2N3866 in de eindtrap, die vervolgens als stuurzender kan dienen voor volgtrappen.



Er zijn aardig wat low power FM zendertjes gebouwd, in allerlei soorten en maten. Hier nog een aantal. De eerste met BFY90, de tweede met BLY88 in de eindtrap en de derde zender weer 1 met een 2N3866 in de laatste trap. Er zijn wat onderdelen gekocht, daar bij Radiohuis Van der Bend! Allemaal nostalgie.
Nostalgie: Radiohuis van der Bend en P.M. Quakkelstein aan de Westhavenkade in Vlaardingen
Omdat vele (oud) radiovrienden mooie herinneringen hebben aan “de goeie ouwe tijd” hier enkele foto’s van de pandjes van voorheen Radiohuis Van der Bend en P.M. Quakkelstein. Het winkeltje van Van der Bend is al jaren gesloten. Het lijkt sinds de sluiting niet meer te zijn veranderd, er liggen nog spullen in de vitrine en binnen zie je nog de oude ladekastjes waar de onderdelen uit werden gehaald. Ik weet het nog goed, je had een onderdeel nodig en Van der Bend had het altijd. OC73 of AC187-AC188, geen probleem, de laden gingen open en ze lagen op de toonbank. Johan van der Bend, een aantal medewerkers en vroeger zijn vader, stonden altijd voor je klaar. Super aardige mensen. In Schiedam had hij ook een zaak aan de Hoogstraat.
En dan Piet Quakkelstein. Aardige man. Zijn vrouw stond ook wel eens in de winkel. Een winkel vol met van alles. Je kon er leuke dingen kopen voor veelal leuke prijsjes. De kunst was om veel allerlei dingen door elkaar in een bakje te pakken en het dan eens te worden over de prijs. Ah, doe maar een tientje…. Als er dan wat leuke torretjes en zo tussen zaten had je echt een koopje.
Mocht iemand nog leuke foto’s hebben van vroegere tijden hier in Vlaardingen over 3 meter, deze winkeltjes of andere zenders, laat het even weten via het contactformulier.
Leuke tijden, leuke hobby. Er is veel veranderd. Met de komst van online ketens als Conrad en de wegwerp maatschappij op elektronicagebied werd het einde ingeluid van kleinschalige winkeltjes als deze. Maar het elektronica cq radio `virus´ blijkt in het bloed zitten…
Reacties op het vroegere 3 meter fenomeen en leuke dingen over de hobby kun je melden via het formulier helemaal onderaan. Bedankt!
Disclaimer: geen inzicht en affiniteit m.b.t. dit soort werkjes? Dan niet aan beginnen. Je maakt de schade misschien alleen maar groter. Uitzenden zonder licentie is strafbaar. Alles wat je uitvoert is voor eigen risico.





Leuke site!! Net of ik mijn eigen zenders zie:)
Oldscool:)
Super leuk al die oude foto’s en verhalen te zien. Begon bij mij exact hetzelfde, jostikitje, vervolgens de Stentor en ook alles gekocht bij vd Bend. vervolgens 10 jaar actief geweest op
3 meter vanuit QTH Vlaardingen. Ik was een echte bouwer en s’nachts verbindingen draaien (CQ3).
Ik heb alleen de laatste zender nog staan uit 1991, 5 Watt stuurzender met buizeneindtrap YL1070.
Was een supertijd komt helaas nooit meer terug.
Hoi René, toen was duplexen met 6 Watt heel gewoon, zoiets zou nu echt niet meer kunnen! En de maatregelen zijn een stuk scherper dan toen! Het blijft een gave hobby….
Zeker leuke site, ook ik (Kayak uit Laren) bouwde wat zenders begin 80er jaren en begon ook met zo’n babyfoon en diverse stentorprintjes maar daarna kwamen de zwevende zenders. En ja stereo helemaal top was dat. Toen kocht ik mijn eerste cd speler voor 1000 gulden ! (want je wilde natuurlijk het “beste” geluid) bij RAF in Hilversum. Er hoorde natuurlijk ook een super mic bij en klaar was je. Ik heb laatst pas de setjes printplaatbehuizingen die ik op voorraad maakte weggegooid met pijn in mijn hart, dat wel. Wat heb ik veel transistors opgeblazen in die tijd. Bij Radio Gooiland in Hilversum was ik een goede klant….Ik heb nog steeds coax liggen uit die tijd. We hebben het nog niet gehad over die waanzinnig grote antennes die het dak op gingen. 11-elements op rotor met tuidraden anders brak dat ding en een 5 elements er onder ook op de rotor om te kunnen duplexen. Nog een andere antenne voor de 27 mc op ene mast van 11 meter en in een nieuwe woonwijk zonder antennes viel je wel erg op….
Buurtgenoten waren toen wel erg coulant…Mooie tijden waren het. Nu maar weer even ompluggen….( 5 seconden voor de plug…..)
Bedankt voor je leuke verhaal! Ik was alweer bijna vergeten van dat ‘ompluggen’ 🙂 !
Ik liep vanochtend tegen deze site aan, leuk al die nostalgie!
Ja heel herkenbaar allemaal. Ook ik als jochie van pak-em-beet 13 à 14 druk in de weer met een Jostikitje (met de 2N2219 uiteraard) en later een ‘echte’ Stentor met de fameuze MRF237 eindtrap. Mijn zus kreeg kabel-TV en ik mocht haar rotor hebben. Een 7-elements antenne gekocht en samen met m’n vader en kennis op dak gemonteerd. En als Rainbow vanuit Hoogvliet bij goede condities tot ver in Brabant en in de Veluwe gekomen. Later nog een stereocoder in elkaar gezet en eraan gehangen en een bescheiden erg onregelmatig uitzendende lokale radiozender (met 5 a 10 luisteraars, haha) was geboren! Ja dat waren gouden tijden die ik niet had willen missen!
CQ3 CQ3 Attentie 3-meter CQ 3-meter dit is de Rainbow CQ3 kom er maar in over! Haha
Hallo Nick, bedankt voor je reactie!
Ik zat in het begin met een open dipool op het balkon, dus buren beneden, boven en ernaast. Als ik op een paar Watt uitzond, kon de buurvrouw naast ons niks meer horen op haar klokradio 🙂 En de buren beneden hadden een orgel. En ik een in elkaar geknutselde kortegolf zender op amplitude modulatie, dus de platen die ik draaide kwamen uit de luidspreker van dat orgel en schreeuwen in de tuin “kan die zender even uit!!” Jongens wat een tijd. Die KG zender komt nog wel een keer op de site, die staat nog ergens op zolder te verstoffen!
doe Johan van de Bend maar de groeten, als die zaak nog bestaat.
hij is groot geworden door mijn (af)betalingen…
Radio blijft altijd leuk
73,s
Mels PE1HEZ uit Venlo( vroeger Vlaardingen)
Ha Mels,
Het winkeltje van Van der Bend is al vele jaren gesloten. Sindsdien is er in dat pandje niets meer gebeurd alsof de tijd is stil blijven staan.
Zal ook op enig moment wel verkocht zijn, misschien het appeltje voor de dorst…
Quakkelstein ernaast is ook aflopend, het laatste deel van het winkeltje staat te koop. Piet is nog wel op beperkte tijden open, vraag is nog hoe lang. Wat resteert straks zijn de herinneringen!
Goh, kom je ineens weer nostalgie tegen. Ook wij zijn zo begonnen (wie niet) met zelfbouw oscillators, toen kwam je zelfs daarmee al de straat uit. Daarna stuurzender gemaakt, met een vermogen van zo’n 3 Watt. Maarja je wilt meer, dus module lineair gemaakt. En steeds een stukje verder! uiteindelijk met een BLX15 gezeten, met een 13-elements het hele land rond blazen. Jammer dat die tijd niet meer terug komt. Maar goed, na zoveel tijd zijn de oudjes toch weer actief geworden, alleen nu op andere frequenties. Dat uit zich in weer in het terugkerend gebeuren van de hobby. Nu 35cm en 4.5 meter. Het nieuwe 3 meter tijdperk dus. Met relatief weinig vermogen kom je ook nu weer het land door.uiteraard WFM.
Ik zal, als je het goed vind, een link naar deze website zetten ( en stiekem hoop ik ook op een linkje) zodat nog meer mensen de weg naar dit leuke, zeer herkenbare, verhaal vinden.
groet,
Dxrapporten.com
Hallo,
Leuke site, ik heb een link in het menu geplaatst onder “links naar andere websites” en prima hoor als je deze ook linkt op jullie site! Bedankt en groeten, Kees
Linkje geplaatst, onder “links” Heb het even 3-meter verhalen laten heten, als je dat anders wilt, moet je dat even aangeven, kon niet echt een passende titel verzinnen 🙂
Prachtige site. Zelf ben ik van 17 december 1983 tot 2 oktober 1987 zendpiraat geweest. In de jaren 1991 t/m 1994 kwam ik nog een paar jaar terug. Maar die eerste periode was uiteraard de mooiste. Ik wil in 2014-2015 weer heel kleinschalig in de ether, met een simpel zendertje ca. 5 Watt en stereocoder en als antenne een dipool. Het liefst ga ik het allemaal zelf bouwen en in elkaar solderen. Een beetje muziek uit die geweldige beginjaren 80. Hier in Waddinxveen.
Hallo Co, het is niet aan te raden want de boetes van AT zijn erg hoog en men controleert scherp! Mocht je toch het risico willen nemen, neem een stabiele oscillator zoals de BF900 die enkele mW levert en hang er 2 weerstandjes van 100 Ohm parallel aan… Leuk (voor alleen in de huiskamer!).
Viavia deze website gevonden. Zoals iedereen ook ben ik zo begonnen. Jammer dat ik er maar weinig tot geen foto’s er van heb. Het enige wat ik nog heb is een lineair met een module. Sinds Oktober 2013 wel weer aan de band, en zo groeit de hobby weer. Ben toevallig 4 weken geleden nog bij Quakkelstein geweest, om wat coax tussenkabels te halen. Blijft een leuk zaakje, en was toch zo’n 25 jaar geleden dat ik daar voor het laatst was.
Als ik zo naar je website kijk, dan komt alles weer boven drijven. Leuke tijd geweest.
Wat een leuke site heb jij zeg ! Ik zal een linkje in het menu plaatsen. En leuk te zien dat het goed werken is op o.a. 35 cm. Jij boft overigens met zo’n hoogfrequent meedenkend vrouwtje! 😉
Hey Kees,
Dan heb je het hele verhaal goed gelezen!:-)
Tja, er was eerst tegengas, maar na een poosje zag ze ook wel in, dat het niet meer hielp, en dacht dus waarschijnlijk, hoe kan ik het voor mij minder zichtbaar maken 🙂
Bedankt voor website compliment, vond het zelf ook wel goed gelukt.
Ik zal ook een linkje terug zetten, bedankt daarvoor.
Leuke site, toevallig gevonden. Veel leuke herinneringen aan die tijd (1976-1980). Eerst inderdaad een kitje maar snel zelfbouw zwevend. E-300, BF-199, 2N2219, MRF en BLY, draaibare Yagi op het dak, stereo coder en gaan: Omega vanuit Voorschoten in stereo te horen in heel Nederland. Het ging om het experimenteren en bouwen. Menig beginnende hobbyist en radiostation geholpen aan een stabiele zender. In 1980 overgegaan legaal naar PD0NIE en daarna PA3DNM. Veel extreme eperimenten gedaan maar die begintijd was heel speciaal. Sinds 1986 geen tijd meer gehad voor deze hobby. Er staan nog een hoop spullen op zolder dus wie weet later weer…
Bedankt voor je reactie Erik! De zolder is de ultieme opslag voor dit soort spullen. Ik ken het 😉
dag cees met de vele damens ………….ik hoor of zie niet meer cees maak eens de weg vrij om op dinsdag avond de eerste vdm de vereniging te bezoeken we hebben een heel nieuw gebouw en een ander tuin bestuur , verder zijn we de versatoren opnieuw aan het aansluiten en hier zit ik op de hf banden met enige furuno,s marine trx van Greenpeace van de Rainbow warrior 2 , hele fijne en voor amateurdoeleinden beter als de meeste koopdozen ,,, zo dat was ie effe dag cees de welgemeende groeten aan je vrouw en dochters en Always 145,525 bij. dag cees mvg cor pa5six 73
Ha Cor! Ik kom wel weer een keer buurten. Leuk van die marine apparatuur. Kunnen de buren nog wel normaal huishouden of gaat alles plots aan- en uit in keukens, huiskamers en douches van dat hele huizenblok? Een beetje gratis TL licht voor de nabije buren is niet erg Cor, maar maak het niet te gek he 🙂
Hoe is het met de SDR? Een goede vriend van me is bezig met de HackRF One een subliem dingetje wat ik eruit opmaak. Groeten aan allemaal.
Grappig allemaal Kees!
Ik moest vooral errug lachen om die jingle. Heb hier ook nog dozen materiaal uit die tijd liggen.
Top!
By the way: Heb ik die print nog ge-etst?
Ha Martin,
Volgens mij al die printjes van die BF 900 oscillators! De FRM print weet ik niet meer, maar volgens mij was jij in die tijd de enige van de groep met zo’n etsbak, dus ongetwijfeld heb jij alle handel van toen ge-etst!
Ha Kees, dat is inmiddels een mooie verzameling plaatjes en verhalen geworden zeg! Ik moet ineens denken aan de TL-buis die niet ver van mijn binnenhuisantenne zat. Als ik in de lucht was met zo’n 4 Watt dan en de TL-buis aan had kon ik hem zo uit het armatuur draaien, een uiteinde beethouden en dan bleef ie zo spookachtig doorgloeien. Een soort Darth Vader 🙂
Ik ga binnenkort door mijn zolderdozen heen en kijken of ik nog wat plaatjes ter aanvulling kan maken.
Grts, Leo
Leuk Leo,
Nu je het zegt, die TL buis, inderdaad. Een aantal dingen blijven je bij zoals het afregelen van die 2N5642 op 30 Watt op antenne. Hoorde dan tussen 88 en 108 ‘ruis en geplop’ 🙂 Ben benieuwd wat je nog vindt! Groeten Kees
Leuk om dit allemaal te lezen en te bekijken. Zeer herkenbaar!
Gr, Bert.
Leuk al die bekende namen en foto’s en zendertjes:
http://www.mijnalbum.nl/Foto-UHKPELAU.jpg
heb je/jullie meermaals gehoord ook.
hier zijn we nog steeds actief (op andere frequenties modes)
VrGr R. IC
Hoi Rob / IC !
We hebben ooit midden in de nacht geduplext! Ik zat toen met een dipooltje op het balkon, volgens mij met een viertrappertje met in de eindtrap een 2N3553. Da’s lang geleden, bedankt voor je reactie!
En als je leuke schema’s of zo hebt voor hier op de site, dan hoor ik het wel!
Ik mij af vraag of ik je nu wel of niet persoonlijk heb gekend?
geduplext,
eerlijk gezegd weet ik mij dat niet meer te herinneren maar is absoluut wel mogelijk.
met Martin heb ik zeker gesproken en heb ook misschien met René gesproken.
schema’s,
ja heb wel schema’s maar dan in een map(op papier dus)
ook heb ik al veel schema’s op het internet gezet o.a. deze:
http://i51.tinypic.com/24vqkk9.jpg
hing je nog ergens uit? frequentie?
VrGr Rob.
Hallo Rainbow, ooit hebben wij elkaar al eens gesproken…..
https://www.facebook.com/photo.php?fbid=259351934199971&set=a.185680684900430.47212.100003754982595&type=3&theater
de link naar je qso kaart
De link werkt (nog) niet Wim, is die werkend te krijgen?
Meestal op 105.6 of ergens in de buurt ervan waar het leeg was. Met de VFO was er eigenlijk geen vaste frequentie.
Nu bij gelegenheid op 2m of 70cm. Heb hier nog allerlei knutselprojectjes voor de HF banden liggen, met aan zekerheid grenzende waarschijnlijkheid zullen die, bij leven en welzijn, over een jaartje of 20 weer opgepakt worden 😉
och wat dat betreft kom ik ook tijd te kort!
MAAR!!!
ik knutsel tussendoor nog wel en MAAK af en toe gewoon de tijd er voor.
.
Tis trouwens jammer dat iedereen heeft afgehaakt of anders…,
3 meter is er eigenlijk nog wel maar is lichtelijk verplaatst!
(PPPSSSSsssssTTT alleen wat erg lager in de band en in AM modes)SSSSTTT niet verder vertellen!!!
dit schrijven is trouwens niet zo special voor jou Kees,
maar voor al die lezers die schrijven jammer….. en ik mis……..
het is er nog,… ff goed zoeken!!!
ik geef jullie (om het in eerste instantie goedkoop te houden) een zetje:
http://websdr.ewi.utwente.nl:8901/
en jaaaa het is niet te vergelijken met FM nee,
maar de gezelligheid is daar vaak nog wel, zoek ff!
succes!
VrGr RadioRob.
Lekker bezig Rob, ik zelf zal af en toe eens luisteren. Weliswaar hier analoog via de Lowe HF 225 (inmiddels een legendarisch apparaat) op een langdraad.
Leuke site, herkenbaar en vergelijkbaar verhaal! Eerst Hacon/Jostikit/Stentor zendertjes kopen, later veelal zelfbouw. Was een supertijd, met fijne vrienden.
Jongens wat geweldig om dit allemaal te lezen. Ik ben van dezelfde generatie, denk ik. Nu 48jaar jong En destijds ook de stereocoder van frm. Die was absoluut goed.
Mijn zenders waren allemaalnzwevend opgebouwd enheb ik toen veelvuldig verkocht aan andere zendamateurs. Wat een fantastische tijd was dat. 7 traps zender met als basis de bf199. Als antenne een 7 pools op een dikke stalen plaat op het dak. Die zenders stoorden absoluut niet.vele jaren later toen ik bij philips werkte heb ik die zender eens op een spectrumanalyser en netwerkanalyser gehangen en inderdaad je zag de harmonischen maar die waren zeer sterk onderdrukt. Wat ik toen dacht bleek later correct. Wel leuk, we deden namelijk maar wat Maar wat een lol!
Gr
Richard
Breda maar toen Capelle aan den Ijssel.
jaaaa we zitten wel ongeveer in de zelfde leeftijdsklasse!
maar nogmaals het 3 meter gevoel en de sfeer kun je nog wel terug vinden.
het is al weer een tijdje geleden maar het is nog steeds actief,
bekijk/lees dit anders ook eens:
http://www.circuitsonline.net/forum/view/23507/1/kg+uitdaging
ik zelf ben verschrikkelijk druk met van alles en nog wat maar hou het nog steeds in de gaten!!!
en met mij echt waar ook vrienden tot ver in het buitenland.
en nogmaals deze link:
http://websdr.ewi.utwente.nl:8901/
doe er jou voordeel mee!
tot horens!!!
RRob 😉
Vorig jaar al een comment op deze site achtergelaten, maar zie nu een hoop
nieuwe foto’s en reacties.
Dik 10 jaar actief geweest op 3 meter vanuit Vlaardingen onder de Laser.
Bekende mede Amateurs in Vlaardingen waren o.a. Eskador, TRI, Superstar, Intersound, IC (Rob)
QUO, Turbo, Astro, meer kan ik er zo even niet noemen.
Eind jaren 80 ben ik nog werkzaam geweest in de winkel van vd Bend om vervolgens in 1993 te gaan
werken in de groothandel van vd Bend (vd Bend Electronica). Hier ben ik werkzaam geweest tot 2012
toen ging de boel uiteindelijk failliet.
Was een mooie tijd , die helaas nooit meer terugkomt
Ja ja Martin de Quo. Staat ook ergens tussen de comments. Hele avonden duplexen tot diep in de nacht. Iedereen stuurde elkaar door inclusief 27 mc en telefoongesprekken die live de uitzending in gingen!
Leuke site,
komen allemaal weer herinneringen naar boven, zelf was ik actief van 1973 t/m jaren 80.
bekende Vlaardingse amateurs en die lang actief waren in deze periode waren: Pentagon, Leona, Phantom, Tokay, Peukie, Caroline, Miamico, Excellent,
Nog meer Vlaardingers:
Argus, Atletico, BLY, Delta point, Decibel, Keybord, Mister X, Noordzee, Radio Vlaardingen, Wishky, Foxtrot, IRA, Thunderbird, IC, Lucky Star, fender,
Maassluis de bekende Indus, in Delft de bekende Arrow, Schiedam de bekende Bird, Rotterdam de bekende Whale, in Steenbergen de bekende Euro.
Er waren natuurlijk nog veel meer amateurs in Vlaardingen ik heb toen der tijd alles genoteerd en alles bewaard van qso kaarten, kranten knipsels tot en met een paar veroordelingen toen ik gepakt werd door de witte muizen, haha enz.
Phantom (PD0HLE)
Wat een leuke pagina om zo eens door te lezen; sommige schema’s komen me bekend voor en de componenten zeer zeker. Het snuffelen bij v.d. Bend staat ook bij mij in m’n geheugen gegrift. Het euforische gevoel toen ik de “1 km babyfoon” ontdekte, het leek alsof ik het ei van Columbus had gevonden, ik denk dat ik er wel een stuk of 5 heb verbruikt 🙂 Volgens mij had dat ding een 2N2219 als eindtor met een stukje draad eraan. Daarna volgden vele zelfbaksels, stentors, PLL setjes en grotere eindtrapjes. Ik ben rond ’93 begonnen vanuit Maassluis (Astra), beetje duplexen met wat stations uit de buurt, muziek draaien voor klasgenootjes en in het weekend “non-stop”, de CD speler op repeat dus…In ’94 en ’97 uit de lucht geplukt en ergens in 2009 een korte uitstap op 35cm gemaakt, het blijft kriebelen hoor al dat gepiraat, al weten we allemaal dat het nooit meer zo zal worden als toen.
Toen ik een jaar of 13 was heb ik eens een advertentie in De Particulier laten zetten, rubriek 333 meen ik, zender gezocht. Ik werd thuis gebeld door redelijk wat mensen die wel een zender voor me konden bouwen, maar pa & ma waren niet zo gecharmeerd van al die vreemde vogels aan de telefoon 🙂
Het schema van RBS komt me zo bekend voor; een soortgelijk schema met dergelijke aantekeningen is ook wel eens in mijn handen gekomen. Ik heb destijds een groot stuk printplaat en alle onderdelen gehaald bij v.d. Bend, samen met zo’n zak van die geel-groene etskorrels. In de achtertuin vulde ik een koekblik (voel je hem al?) met heet water, korrels erbij en de print erin, wist ik veel…binnen enkele minuten was de bodem uit het koekblik weggevreten en stroomde de smurrie over de tuintegels, met een paar lelijke vlekken als gevolg…nailed it haha, sindsdien nooit meer een print geprobeerd te maken!
Quakkelstein met zijn vrouw kom ik nog bijna iedere radiobeurs tegen, altijd even vriendelijk en tijd voor een praatje, dat was vroeger in de winkel nog wel eens anders, ik kan me herinneren dat er altijd iemand met me meeliep als ik weer eens kwam struinen (misschien omdat ik nog jong was).
Bedankt, je staat onder m’n favorieten.
Remco Rozenburg (PD1AEC)
Hoi Remco (en Rob vorige post), bedankt voor jullie leuke en uitgebreide reactie! Het was inderdaad een hele leuke tijd met mooie herinneringen. Het legale is ook wel leuk, maar anders. Alleen al de herinneringen in het prille begin om van een “brom” af te komen, dat je op de draaggolf luisterde en draadjes verlegde om zo min mogelijk bromgeluid te horen. En achteraf denk je dat het ook wel z’n charme had. Later werd het allemaal beter. Ik was zelf gecharmeerd van een dynamiek compressor. Het “Radio Atlantis geluid” (1980 – 1983), geweldig vond ik dat!
Wat een leuke site. Het doet me terugdenken aan mijn jeugd, toen ik als 12 jarige mijn eerste zendertje kocht. Het was de bekende jostikit, die na in elkaar te zijn gezet in een leeg strepsildoosje werd gebouwd. Als antenne gebruikte ik een oude autoantenne, die ik in de dakgoot monteerde. Dat resulteerde in een bereik van ongeveer 1 kilometer. Maar de vraag om meer vermogen begon aan te dringen, en zo bouwde ik op 13 jarige leeftijd een vrijloopzendertje van 5 watt. Met als eindtor de bekende mrf237. De autoantenne werd vervangen door een kruisdipool, en zo werd Peellandradio geboren. Ook werden er nog zwaardere zenders gebouwd, zoals een 25 watter met een bly89, en als laatste een bly90 met 50 watt. Het was een onvergetelijke tijd, die ik nooit heb willen missen. Ik had nog een heleboel onderdelen liggen, en daarvan heb ik een paar jaar geleden weer een bly89 gebouwd. Puur uit nostalgie, en om af en toe de zender nog eens aan te zetten op de dummyload. Ook de jostikit wil ik weer gaan herbouwen. Het was, en is nog steeds, een fantastische hobby. In 2005 heb ik mijn licentie gehaald als radiozendamateur, maar de tijd als etherpiraat zal altijd in mijn geheugen gegrift blijven.
Groetjes: Roger Steeghs
Bedankt voor je uitgebreide en leuke reactie Roger! Grappig dat het “radiovirus” altijd bijblijft… Dit zal voor velen onder ons zo zijn en blijven!
heee weer een bekende! ( Phantom )
al die namen:
Pentagon, Leona, Phantom, Tokay, Peukie, Caroline, Miamico, Excellent,
Argus, Atletico, BLY, Delta point, Decibel, Keybord, Mister X, Noordzee, Radio Vlaardingen, Wishky, Foxtrot, IRA, Thunderbird, IC, Lucky Star, fender,
Maassluis de bekende Indus, in Delft de bekende Arrow, Schiedam de bekende Bird, Rotterdam de bekende Whale.
bijna allemaal ook mee gesproken!
miamigo is mijn zwager en de Indus was vroeger mijn colega HAHAHAAaaaa LOL
Martin The QUO en Kees en nog wat andere kwamen daarna pas.
mevrouw en meneer quakkelsteijn heb ik trouwens pas nog gezien sterker nog heb er (z.mica)condensatortjes van gekocht!
Maar nogmaals luister op een zondag rond 3uur ff op 6385 in AM modulatie/mode 3 meter is gewoon een stukje verschoven meer niet meer:
http://websdr.ewi.utwente.nl:8901/
klik op de link en neem eventjes de tijd om hem door te krijgen.
(geloof me als je op het juiste moment even luistert dan heb je LOL)
en ja soms is er ook wel eens niets (je moet per ongeluk op juiste moment ff luisteren)
vragen: radiorob007@hotmail.com
VrGr Rob.
Hallo allemaal. Wat een heerlijke nostalgische site. Toevallig stuitte ik door te googelen op deze site. Ik heb in de jaren zeventig ook in Vlaardingen gewoond. Ook ik kocht mijn onderdeeltjes bij de Firma Van der Bend. Ik werd destijds altijd goed en zeer vriendelijk geholpen. Ik wist niet dat Radio Van der Bend failliet was. Jullie geloven het misschien niet maar van het bovenstaande schema van RadioRob heb ik toen mijn zender gebouwd (nog bedankt). Aangezien mijn locatie zeer gunstig lag (heel hoog)heb ik niet alleen met mede amateurs in Vlaardingen en Schiedam kontakten kunnen leggen maar ook ver daarbuiten. Ik had met enkelen zoals de Zender Mars, Pamdora en Mantovani persoonlijk contact. Toevallig heb ik kort geleden mijn oude QSO-boekje gevonden waarin ik alles noteerde. Heel veel namen zoals bovengenoemd staan keurig genoteerd. Het was voor mij een ongelofelijke gezellige tijd waar ik vaak aan terug denk maar waarschijnlijk nooit meer terug komt. Overigens was mijn naam CD (Charlie Delta).
Prachtige tijd was dit, ik zou graag in contact komen met piraten die nog een horizontale fm antenne en zender klaar hebben staan om opnieuw te dx’n, ik heb zelf een 7 elements Stolle met 500 watt zender en kan tussen 106 en 107 mhz vonken. Dus…..kijk ook op mijn FB pagina https://www.facebook.com/cqdxaan3meterfm.horizontaal.etherpiraten/
Bedankt Aad en Ger voor jullie reactie! ps Ger, even je FB link nazien, bij mij doet/deed deze het niet…
het linkje van Ger,
misschien lukt het hiermee:
https://www.facebook.com/cqdxaan3meterfm.horizontaal.etherpiraten/
of ander zo:
https://www.google.nl/?gfe_rd=cr&ei=TMSaU-CCLoWa-Aaom4CgBA&gws_rd=ssl#q=www.facebook.com%2Fcqdxaan3meterfm.horizontaal.etherpiraten%2F%EF%BB%BF
kijk stiekum af en toe nog ff mee!
heb Phantom (PD0HLE) pas weer gesproken!(leuk!)
VrGr Rob.
VrGr Rob.
Grappig om dit terug te zien en te lezen.
Zo’n 34 jaar geleden begon ik met een 1 Watt zendertje uit een radio winkel.
Even daarna de “trotse” eigenaar van een 5 watt stentor, ja inclusief die sterocoder van het FRM.
Heb er nog steeds 1 in een blikken doosje haha
De eigenaaresse van het FRM (Jose H) woonde vlak bij mij in Amsterdam Noord.
Daarna nog wat eigenbouw,
Nu, sinds een paar maanden begint het weer te kriebelen.
Als ik mijn leger zenders (buizen BC-1000 en SEM 25) af heb ga ik voor de lol nog een keer een 3 meter fm zender zwevend bouwen..
Hier komt dan ook die FRM sterocoder in.
Ha Mario,
Stuur je t.z.t. de foto van je bouwwerk?! 🙂
Hoi,
Wat een leuke site.
Ik ben zelf ook 3 meter piraat geweest van 1969 tot 1977 in Amsterdam onder de call Verona en later ASD700.
Ik ben ook een keer in Vlaardingen langs geweest bij Quakkelstein voor een telex apparaat.
Was een leuke tijd op de FM band. Na het piraten ben ik verder gegaan als radio zendamateur.
kijk ook maar eens op mijn website.
73’s
Ruud.
Bedankt voor je bericht Ruud! Ik zal een linkje van jouw site op deze site zetten, leuk!
Beste mede amateurs.
Het woord amateurs niet te verwarren met ‘Cent amateurs’, sommige van deze mensen vrage op de beurzen nog of het kopen van vijf stuks één watt weerstanden een korting oplevert!! Ja, deze site doet oude tijden herleven. De nieuwe generatie jongeren kunnen niets anders meer dan met hun ‘speeltje’ rondlopen en de hele avond zitten te ‘friemelen’. Iets bouwen is er niet meer bij, ze hebben geen kennis van zaken, laat staan dat er nog leuke winkels zijn die iets zinnigs verkopen op electronica gebied. En ja hoor, deze winkel bestaat gelukkig nog steeds, Piet en Miep Quakkelstein in Vlaardingen. Mooie spullen van zeer goede kwaliteit, vriendelijke mensen, en altijd behulpzaam. Ook op de gerenommeerde beurzen, Rosmalen afgelopen zaterdag, NVHR vier maal per jaar, zijn zij aanwezig. Conclusie? EEN AANRADER.
Veel plezier met de hobby.
Will Gunther.
Ik bouwde mijn eerste zender in 1979 ik was toen 16 jaar. Het was iets magisch, radio.
Later via Free Radio Magazine een stereo coder. Eerst zonder kristal, maar dat was geen succes nummer 😉 Het was een tijd die ik voor geen goud had willen missen. Veel gezien en meegemaakt!
Groeten van de Hurricane uit Schiedam.
Ha Peter bedankt voor je bericht! Wie heeft ‘m niet gemaakt, de FRM coder!
Hoi allemaal
Ik heb ook net als jullie allemaal een mooie tijd achter de rug in de jaren 80 onder de naam rdx uit vlaardingen .volgens mij zijn jullie zo goed als allemaal gestopt …nou ik niet hoor …de kelder staat vol en regelmatig staat het nog aan …of ik luisteraars heb ….zal niet nee hahaha ik weet dat er nog wel levendige handel is maar dat zit in het oosten van het land. In haarlem zit er ook nog een zaakje dat heet hf electonics. Die maken en leveren nog steeds zenders op meerdere frequenties… egt een soort kwakkelstein…lekker rommelig maar ze hebben echt bijna alles … zelf ben ik veel op 863 mhz bezig… daar heb ik dus ook een vraagje over .mogelijk is er iemand die me kan helpen daarmee …ik wil graag de boel ietsje versterken maar heb geen geschikt schema daarvoor .liefst van de 10 mwatt naar 1 of 2 watt.
Is er een van jullie die iets heeft of me verder kan helpen ? Mag ook een complete zender zijn als ik maar 1 of 2 watt heb …
Groetje van de rdx 106.8 uit vlaardingen…
Hallo Wim, bedankt voor je reactie. Wellicht iets zoeken in de BGY modules? Kijk ook eens op http://www.electronicstudio.net/rf-amplifier.html of anders zijn reacties hier of in het forum welkom.
Hartstikke leuk om te lezen,en ja zelfs nu kom ik nog wel eens bij quakkelstein.
Radio Rob ken ik goed,zelf ben ik heel soms nog steeds actief op 3 meter.Heb een yagi op het dak gezet horizontaal en maak soms nog wel eens een qsotje met een maat van mij 45 km verderop haha.Het gaat nergens over,maar blijft leuk op zijn tijd.We zitten wel boven de 105 mhz tussen de lokale,maar omdat we horizontaal zitten is er vrij weinig last.
pas maar op anno nu, straks staan ‘de witte muizen’ op de stoep 😉
Ach zo 1 keertje om de paar weken savonds laat,hoogstens een half uurtje.
misschien leuk om even te ….:
http://www.videomoviles.com/ER019TtvxBg/de-zender-eagle-cq3-aan-de-band-1986-edwin-van-brakel/
VrGr R.Rob.
Prachtverhalen op deze website. Blij dat ik ‘m per toeval ontdekte. Het valt me op dat de meeste schrijvers midden-vijftigers zijn, en op zo’n beetje dezelfde manier aan hun radioverslaving zijn gekomen.
Mijn steentje bijdragen lijkt weinig origineel maar ook voor mij begon het in 1975 op 13-jarige leeftijd, na een jaar op afstand op 11m mee te hebben meegekeken met een klasgenoot.
Met wat spaargeld een setje AM-porto’s gekocht in de periode van het bewuste 1 juni-wetje. Uiteraard constant met zweethandjes QRV want het was illegaal. Veel contact met een jongen van een paar huizen verderop in de straat die toevallig dezelfde porto’s had; waarschijnlijk uit dezelfde winkel…
Na alle mogelijke metalen als extra antenne te hebben gebruikt, en daarmee mijn radiowereldje telkens wat vergroot, kwam ik in contact met iemand van wie ik een Skyfon Colonel kocht. Wat minder speelgoed, iets meer output, en… geen superreg meer, dus niet langer de ontvangst van de gehele 11m-band ineens. In die tijd kocht ik ook een Jostykit en een zelfbouwpakketje met een identiek schema. Allemaal leuk en spannend op 3m, tot ik op een dag werd uitgepeild en mijn spullen een tijdje vaarwel moest zeggen.
Kort erna was ik natuurlijk weer in de lucht en controleerde ik de reikwijdte van mijn zender met een transistor-radio op de fiets. Ver kon ik nooit fietsen want mijn C-90 bandje draaide slechts drie kwartier muziek. Met een kameraad een straat verder had ik een duplexverbinding; magisch. Alsof je bij elkaar in de kamer zat.
Via de Skyfon kwam ik in contact met iemand in de buurt van wie ik een Pony CB78 kocht, die het op een binnenhuis-DV27 nog best aardig deed. Nog steeds spijt dat ik dat ding heb verkocht. In 1980 hoorde je steeds meer over de komst van 11m-FM. Uiteraard ook aan meegedaan. Het werd de bekende Philips 369 die ik nog steeds heb.
Op 3m zat ik inmiddels met een Velleman (kom ik hier niet veel tegen…) en erna met wat zwaarder spul. Dat lokte toch meer dan het legale deel van de 11m.
De centrale antennes werden vervangen door kabel en toen mijn oude collega’s er de brui aan gaven, ben ik hen niet gevolgd naar 60 cm.
Na het lezen van alle nostalgie op deze site is het toch weer gaan kriebelen. Een nieuw begin is zo gemaakt, daar ik alle spullen nog/weer heb. De eerste AM-porto’s en de Skyfon vond ik voor een habbekrats terug op een rommelmarkt. Zelfs met de originele antennes. Af en toe doe ik er een batterijtje in. Alleen al de AM-ruis laat het bloed weer sneller stromen…
Het zou fantastisch zijn de spullen aan te sluiten en dezelfde mensen van toen weer te kunnen werken. Ik zou er zelfs goud geld over hebben. Die tijd komt inderdaad niet meer terug.
Mijn signalen zouden ongedetecteerd de ruimte invliegen, en de tuner zou op alle frequenties zwijgen.
En toch moet iets dergelijks mogelijk zijn; zeker met al die nostalgische verhalen op deze site. En dan maar niet met dezelfde mensen. Alhoewel… Enkele welluidende namen van toen: Starlight, Sunrise, P.P., Station Tiger, Victor Vught.
Ik ben standby.
10 secondjes voor de plug…
Ruud Vermeer.
Ha Ruud, wat een leuk verhaal bedankt voor de moeite die je nam om het op deze site te zetten! Tegenwoordig gaat alle aandacht naar smartphones met alle mogelijke vormen van communicatie. Niet te vergelijken met toen, soms stuurde je via meerdere tuners meerdere stations door, zat je met een stuk of vier of meer kletsen en werd ook de 11 meter doorgeprikt. Eén station kon zelfs z’n huistelefoon doorsturen. Belde die je midden in de nacht op als zij zaten te duplexen en ik toevallig niet…. Jouw verhaal is ook zo herkenbaar. Ik deed overigens een paar seconden over de plug, klemde die van jou of zo? 😉
Hallo Kees,
Ha. Nee. Het was een PL259 maar hij zat niet op het voorfront! En uiteraard moest ik de amateur aan de andere kant tijd geven om ook om te pluggen. Niet iedereen had na al die investeringen nog geld over voor een coaxschakelaar. Zeker niet als je na een zekere onaangekondigde actie weer opnieuw moest beginnen…
Voor het doorprikken had ik te weinig spullen tot mijn beschikking, maar in de late jaren ’80 zat ik wel eens via 11m met een paar jongens die op 3m een verzoekplatenprogramma draaiden. Dat was aardig maar de echte spanning van de jaren ’70 was er niet meer.
Nog steeds speur ik uit gewoonte het deel 100 – 108 MHz wel eens af. Gewoon omdat ik het niet laten kan. En als dan plotseling het vertrouwde “Tubular Bells” van Mike Oldfield (een van de steevaste tunes van toen) weer door de speakers mocht klinken, is het tijd om de soldeerbout te nemen en weer aan de slag te gaan.
Zwijg me S.V.P. van dat moderne gedoe met smartphones, ook al danken ze hun bestaansrecht aan ons pionierswerk!
Toch aardig dat op Marktplaats zo nu en dan spullen staan uit vervlogen jaren. Een duidelijk teken dat het toch nog niet helemaal dood is.
Wat heeft jou er toe aangezet met deze site te beginnen?
Groeten.
Ruud.
Van de week ontvangen in Groningen 192km en Ede.
Er komen weer oud amateurs retour op 3.De meeste hoog in de band,rond 108.
Zet je oude yagi horizontaal maar weer op het dak.
Ha Ruud, sorry zag nu pas je vraag onderaan. De reden om deze site te beginnen en nog steeds in de lucht te houden… ik denk een stukje nostalgie! Het is en blijft toch een erg leuke hobby die (V)HF!
Ha die Kees,
Erg leuk om dit allemaal weer eens terug te lezen.
Voor de geïnteresseerden heb ik hierbij een link met nostalgische opnamen van begin jaren ’90.
Veel luisterplezier: http://eekh68.synology.me:5000/as/sharing/j8frrkLm
Groet,
Martin
Hey die Martin!
Alles goed met jullie? En in de nieuwe woonomgeving?
We gaan de geschiedenis in! 😉
Groeten , ook aan Elene!
Kees
Zooo wat komt me dat bekekend voor.
Supertijd gehad en soms beland in bijzondere situaties met zeer bijzondere mensen.
Mijn Eigen verhaal, begonnen begin jaren ’70 met een electronica bouwdoos waarmee je diverse electronische schakelingen kon bouwen. Al snel had ik uitgevonden dat je er ook een middengolf zendertje mee kon maken. Het begin was een feit plaatje gedraaid en zelfs geduplexd met dit ding. Verder gegaan op FM met jawel een omgebouwde transistorradio al zender. Ga je met een radio op b.v. 92mhz zitten verschijnt er een soort van “Spiegel” in de buurt van de 103mhz deze gemoduleerd een flinke antenne eraan en 3km was haalbaar.
De volgende stap de josti kit, daarna al snel zelf aan het bouwen gegaan met een buisje ECC83, later EL84 en nog later een 2 trap met ECC85 met een QQE0312.
Het bouwen van transistor zenders had mijn aandacht veel schema’s verkregen uit het FRM die ik overigens allemaal nog heb liggen, en ja ook de veel besproken stereodecoder prima ding. Eindtrappen tot en met BLY90 gebouwd met uitgangs vermogen van 100w, maar ook BLY87 15W, 89 en de MRF238 40W.
Voedingen zelf gebouwd en een 11 elements antenne gemaakt en gepiekt op de uitzendfrequentie 102.6 mhz.
Ik heb nog opname’s liggen van mezelf gemaakt in Zaandam ruisvrij stereo ontvangen, was toch niet slecht vanuit Twente.
Daarnaast nog geexperimenteerd op TV met een videorecorder waarvan ik de frequentie kon varieeren, als je het coaxkabeltje niet aan de tv deed maar aan een antenne had je een bereik van zo’n 500m. Een breedband versterker er bij tussen en je was TV piraat voor het hele dorp.
Supertijd had het niet willen missen en heb er veel van geleerd. Mooie verhalen hier van jullie allen
Leuk verhaal Johan! Bedankt voor het posten! Die jostikit komt bij zo´n beetje iedereen wel terug 🙂
CQ3, CQ3, is er iemand stand-by voor de Twilight uit Rosmalen….gaaf die tijd! Begonnen met een HF65 kitje en toen was ik helemaal verslaafd aan het hoogfrequent gebeuren. Diverse schema’s uit FRM gebouwd en schema’s van de Dendriet uit den Bosch. Armada, Condor, Stormbringer, Diamant, Frankenstein, VOS, Brancaria, Orion, Japie de Stoelenmatter; allemaal namen uit die regio en terug te vinden in mijn logboek wat ik nog steeds heb liggen. Net als alle zenders, eindtrappen etc, wat tot een jaar of 6 geleden nog altijd een keer per jaar werd opgesteld om een marathon muziek-uitzending te doen en nog even dat oude gevoel te laten herleven.
Meestal met zenders van rond de 3watt, maar mooiste prestatie vond ik een dx met Inferno in Elsendorp, vanuit Rosmalen, met slechts 300 mWattjes op een 3-element antenne onder de pannen. Met condities weliswaar, maar toch.. 🙂
Heerlijk dat dx-en van toen!
Wat leuk om te lezen al die verhalen. Woonachtig in Vlaardingen heb ik eind jaren 70 en begin 80 ook gerommeld op 3 meter. Technisch gezien heb ik het nooit ver geschopt en maakte ook nooit verre verbindingen o.a. door gebrek aan kennis, geld en een goede locatie. Een MRF 237 kostte een rib uit mijn lijf en ging bij mij nog al eens stuk. ( Er moest ook nog geld overblijven voor benzine voor de Kreidler, veel biertjes en sigaretten ). Heb veel geduplexed met vrienden uit Vlaardingen, vaak midden in de nacht. Ook op zondagmorgen na thuiskomst van een stapavond die meestal was geëindigd in de Panda. Mijn eerste zendertje had ik gekregen van mijn vader; een Velleman kitje. Achteraf denk ik dat mijn vader nog spijt heeft gehad van dit cadeau; een schoolcarrière is hierdoor nooit echt van de grond gekomen. Ik heb er wel vrienden aan overgehouden die ik via ‘de 3 meter’ heb leren kennen. Ook heb ik er mooie herinneringen aan over gehouden. De avonden dat er ‘condities’ waren vond ik heel bijzonder. Ondanks die condities kwam ik nog steeds niet ‘ver’, maar ik vond het ook spannend om in het donker te luisteren naar die anderen van ver buiten Zuid-Holland die ik normaal niet kon ontvangen. Ik heb mijn eerste Velleman kitje nog steeds liggen en ook heb ik nog ergens een gekannibaliseerde print liggen van een Stentor. Mijn laatste werkende ‘4 trapper’ heb ik ooit eens weggegeven en dat vind ik nu wel jammer, al zou ik niet weten wat ik er nu nog mee zou moeten. Het was een mooie (puber)tijd.
Bedankt voor je bericht Johan! Leuk verhaal
ik zoek nog een eindtrapje 10 tot 15 watt maximaal.
in sturing met 1.5 watt
Leuk verhaal, en kom in de reacties allerlei bekenden tegen uit Vlaardingen e.o. Nog diverse 3 meter setjes in het museum hier, en gaan met wat ouwe lui de 27 Mc weer eens aanzwengelen…
Delta, een bekend naam. Vele oud 3 meter hobbyisten hebben daarna hun call behaald en zijn nog veelal actief op andere banden. De 27 mhz band, tja. Ik zie vaak Poolse bestelbusjes met een DV antennetje rijden, vermoedelijk zul je er daar wel wat van horen. Groeten!
Al gevonden? Marktplaats of Ebay kunnen uitkomst bieden. Maar pas ermee op, het is in het bijzonder af te raden omdat er tegenwoordig veel meer apparaten en producten zijn die via HF werken en hierdoor snel storing kunnen ondervinden met alle gevolgen van dien en de boetes van AT liegen er niet om. Uitpeilen door AT is een fluitje van een cent.
Leuk al die verhalen geweldige tijd trouwens!
Ikzelf begon als eerste met een 40 kanalen AM bak die ik van een oom kreeg in 1979.Toen in 1980 ook maar eens proberen om op die FM band wat te rommelen met een Jostikitje,daarna iemand een echte zender laten bouwen ik geloof een kleine 15 watt en dat was wel wat.
Onder de naam Tiran Radio Vlaardingen zijn wij toen begonnen om elke Zaterdag en Zondag uit te zenden maar het zelfbouwzendertje begon af en toe te roken dus toen eens langs geweest bij alphatron volgens mij in Schiedam en daar een mooie fabriekszender gekocht met Stereo natuurlijk 50 watt schoon aan de 7 elements antenne voor te duplexen en als we zondags live radio maakten werd het aangesloten op eem rondstraalantenne dan waren we overal in Vlaardingen Schiedam en Maassluis te horen.
Ik weet dat er toen best veel geluisterd werd naar ons omdat wij vaak op een zomerse zaterdag in het welbekende Kolpabad rondhingen en best veel onze muziek hoorde spelen op de diverse draagbare radios toendertijd.
Zo zijn we tot 31 december 1988 doorgegaan en hebben wij de stekker eruit getrokken omdat de meeste van ons overal en nergens gingen wonen.
Tegenwoordig zitten wij via internet vanaf 2002 met Discoline Radio maar zo leuk en bjzonder als het toen was is het niet meer helaas.
Van de meeste amateurs weet ik echt de namen niet meer die toen in de lucht zaten op de Liberator na die kwam altijd hard binnen dus en natuurlijk Sky Maassluis.
O ja ik was altijd erg gecharmeerd van Radio Atlantis Rotterdam!
Niet vanwege de muziekkeuze maar wel van dat geweldige geluid wat hun de ether in slingerde.
Ik heb wel veel opnames van ons maar zeker ook nog van de vele amateurs die hier in de regio Vlaardingen op de band zaten alleen staan die allemaal op bandrecorderbanden en helaas heb ik mijn Revox niet meer maar dat zal binnen niet al te lange tijd wel weer goed komen,Kan ik alles eens gaan digitaliseren!
Grt, Perry Scott
Bedankt voor je leuke verhaal Perry! Inderdaad het was een leuke tijd met een hoop gepruts maar met veel lol. Atlantis stond bekend om zijn vette dynamiek compressor, ik vond en vind het ook geweldig, ik had zelf ook altijd een dynamiek compressor in gebruik, zelfbouw weliswaar maar werkte uitstekend. De tijd dat er veel werd geduplext met o.a. de Quo hadden we diverse eigen jingles waaronder deze jingle. We hebben wat afgelachen zeg! Succes met het webradiostation!
Hi Kees,
Ten eerste complimentjes voor je site waar ik heel toevallig terecht ben gekomen, en wat een verhalen uit die goeie ouwe tijd 🙂
Heel leuk om al het “oude” spul weer eens terug te zien, helaas hier niks bewaard uit die tijd, zelfs geen foto’s van de epoxy bakkies die ik heb gebouwd rond 1980 (de bekende 4 traps).
Zoals velen hier ook samen met een vriend op zolder 3 hoog begonnen met de Jostikit, daar kwamen we wel een kilometer ver mee…
Door de Jostikit toen in contact gekomen met de Stardust uit Schiedam die op nog geen 200 meter bij ons vandaan in een grote Z flat zat, en via hem aan de 4 traps gegaan. daarna Harry leren kennen (zendnaam weet ik niet meer) die in de Z flat naast Stardust woonde, en nog veel meer mensen zoals de bekende Whale uit Rdam en Tokay Vlaardingen, waar we trouwens geregeld thuis kwamen met zijn antennepark op het balkon en de “spriet van zijn Satteliet”. Daar zaten we ook een keer toen die vriendelijke meneer “van Empelen” aan de deur stond te bellen 🙁
Wat ik ook nog weet dat bijna iedereen z’n QSO kaarten liet drukken bij een drukkerijtje in de Raephorststraat in Rdam, die draaide toendertijd overuren.
Wat een tijd en een lol hebben we gehad, helaas komt dat nooit meer terug…
Greetz,
Peter
Dankjewel Peter en leuk verhaal!
Hallo, een herkenbaar verhaal! Ik ben zelf ooit gestart als 15 jarige in begin jaren ’80 met diezelfde Hacon 3W, gekocht in een winkelje in Aalst 🙂 Daarna ook andere dingen onder de knie gekregen (printplaatjes maken, antennes bouwen, voedingen, etc). In een winkeltje in Gentbrugge mocht ik mijn zendertjes aan een spectrum analyser (laten) hangen. Dat vonden die gasten daar zelf interessant. Jammergenoeg had ik geen partners-in-crime en moest ik alles zelf uitvissen – niet evident in de pre-internet tijd. FRM kende ik ook, kocht ik in Wetteren! Studiekeuze ging tussen ing. electronica en exacte wetenschappen… Het werd het laatste. Als 50 jarige geoloog-informaticus heb ik bij mijn ouders thuis nog een lade met allemaal die knutselwerkjes. Als ze al niet lang weggekieperd zijn…
Grappig dat iedereen die ermee bezig was, zoveel jaar terug, dan toch af en toe nog zoekt op die termen waarna je o.a. op deze site uitkomt 🙂 Leuk verhaal en bedankt Stephen!
Leuk zeg, pure nostalgie! Ik was actief op 3mtr van ’79 t/m ’85 helaas één keer de RCD op vistie gehad in ’83 🙂 en zijn er een heleboel spullen meegenomen. Draaide allen op zaterdagmiddag lekker muziek, geen idee of ik luistaars had maar dat deed er ook niet toe. Alles zelfbouw vanaf de gekochte 2x 2n3866 en 5w Stentor die maar niet lekker af te regelen bleek. Daarna de veel gebruikte 2x BF199 en BF900 dual gate mosfetjes gebruikt met wat trapjes er achter…MRF 238, veel BLY’s. Meeste power kwam tenslotte uit een BLX15 maar daar draaide ik nauwelijks mee omdat dat toch wel heel veel lompe power bleek. Veel DX’en in de nacht en “condities” waren pas echt sensationeel wat dat betreft….ook nogal wat gebouwd voor anderen en verkocht. Wat een prachtige tijd.
In ’85 gestopt want ik moest dienst in en had geen tijd meer om te bouwen vanwege andere interesses. FM werd ook wat minder aantrekkelijk in m’n woonplaats destijds (Ede), minder stations. Nu nog steeds actief in de electronica.
Hoi Rob, volgens mij zijn we allemaal, de een wat meer dan de ander, nog wel bezig met elektronica. Alleen bij het solderen van kleine componenten kan je wel merken dat het zicht erg minder is geworden door de jaren heen….
Geweldig om dit allemaal te lezen! Zoals de meesten hier ook met zo’n hel klein zendertje begonnen. In mijn geval was het een draadloze FM microfoon van, als ik het me goed herinner, het type WX3 of zoiets. Daarna van iemand uit de buurt een heuse Jostikit overgekocht voor een kwartje, om je dood te lachen. Daarna toch maar aan het zelfbouwen geslagen. Ik had een 3 trappertje van zo’n 1.5 Watt met een 3 elements antenne boven op zolder. Hiermee toch in een cirkel van zo’n 25 km verbindingen kunnen maken onder de naam Condor-2. QTH was Vlaardingen.
Ook ik heb heel wat afgestruind bij van der Bend en Quakkelstein. Het waren inderdaad fantastische tijden die je echt zelf moet hebben meegemaakt om precies te begrijpen waar iedereen op deze site het over heeft. Succes verder met deze website, 75.
bedankt voor je reactie André!
Ben je mij vergeten Rob haha.. Rob (de Hilton Vlaardingen),
Laat nou ook het toeval zijn dat ik het zaterdag nog over je had Rob en ik vanmorgen nog even dacht hoe je heette op 3 meter. Kon er niet opkomen. En dan komt ineens dit antwoord, weliswaar aan andere Rob, voorbij 🙂
Dag Kees en wat leuk om deze verhalen te lezen!
Destijds erg veel gebouwd voor de 3 meter, uiteraard begonnen met de diverse bouw-kitjes maar al doende werd er steeds meer kennis opgedaan en ontwierp en bouwde ik mijn zenders zelf die ik na verloop van tijd weer verkocht om met dat geld weer een betere zender te kunnen bouwen. Ik kocht mijn onderdelen destijds bij Mulders in Den Bosch waar ene Jan achter de toonbank stond met veel kennis, kon me daar uren vergapen aan al het moois en heb daar ook veel geleerd door gesprekken met andere klanten. Tegenwoordig knap ik als hobby Yamaha audio apparatuur op, wie kent de CT1010 nog? Denk nog wel eens terug aan die mooie en vooral minder jachtige tijd…
Hallo Richard,
Leuke apparatuur die oude tuners. Voor die tijd en nu nog steeds enorm goede specificaties. Ook diverse van gehad, allemaal weggedaan wegens ruimtegebrek…
Wat een heerlijke tijd waren de jaren 70 en 80. Na het in elkaar solderen van een fm microfoontje, op school de buizenradio die in de bibliotheek stond en altijd hilversum 2 ten gehore gaf door de toenmaals gepensioneerde biebjuf, samen met een kameraad hiermee deze hilversum 2 overstemde met ons fabrikaat en tegenover alle biebbezoekers luid liet weten dat MIEP van de BIEB eens een ander station moest kiezen !
Ook bij de lokale patatkraam waar altijd hilversum 3 op stond en een knap blondje de bestelling opnam, gingen we als 15 jarigen achter de kar via de fm microfoon afgestemd op hilv 3 onze bestelling “2 friet en 2 berelullen” luid uit de luidsprekers van hun radio klinken. Wat een tijd ! Alles leek toen te kunnen !
geweldig!
Goede avond amateurs,
Vandaag deze geweldige topic ontdekt “it took me back to memory lane” Erg leuke verhalen allemaal, ik begon deze week wat te googelen omdat ik tijdens het opruimen van mijn schuur een BASF CR-S90 cassettebandje vond met daar op DX-verbindingen die ik als “Electron uit Uden (NB)” inde jaren 80 met veel 3 meter amateurs heb gelegd, ik noem namen als:
•De Jungle boer of jonge boer uit Uddel,
•De Verkenner uit Groningen (later vanuit Goes),
•De DZ uit Zaandam,
•De OTS uit Heerhugowaard,
•De Bandolero uit Bolsward,
•Vrij Friesland uit Dokkum,
•Van der R uit Aalsmeer,
•De SWR uit omgeving Rotterdam,
•De Tropical uit Leiden
•De Centraal uit Nieuw Amsterdam,
•Gijs uit Hedel (ben zijn call even vergeten)
En wie ik allemaal nog meer vergeten ben.
Geweldige tijd was dat, midden in de nacht het Hekwerk (9 elem. zelfbouw yagi) richting noord BLY94 op 30W Staande golf terug gematched naar 1:1,2. En jaren lang alle Veron markten af met als hoogtepunt de Brabant-Hallen in Den Bosch.
november 1989 uit de lucht geplukt samen met de Barracuda uit Uden (voorheen uit Maasland ZH).
Later nog wat geëxperimenteerd op de 60cm band, daar weer diverse oud 3 Meter amateurs gesproken, maar dit gaf toch nooit de zelfde kick als de 3 meter tijd met veel foute Italo disco door de compressor limiter geperst.
Hoi Marc,
Bedankt voor je bericht, erg leuk om te lezen. Barracuda Maasland kan ik me ook nog herinneren. Moet omstreeks 1983 of zo zijn geweest. Weet nog dat hij met een 4CX250 zat en harder doorkwam dan de omroep zenders. Dat enorme vermogen vond ik toen wel bijzonder. Zelf nooit meer dan 30 Watt gehad, ja 1 x met een geleende kuuk 0640 🙂
Klopt inderdaad Kees,Rob (Barracuda) werkte inderdaad met een Berg aan vermogen uit de de 4CX250, nadat hij naar Uden verhuisde had hij boven op de galerijflat waar hij toen woonde een dikke yagi tegen de liftschacht aan geboord en liet darmee weer menig TL-buis spontaan oplichten. Maar ook dat was helaas maar van korte duur.
Ikzelf heb het vermogen altijd aan de bescheiden kant gehouden, bij de in beslagname van mijn zender destijds heb ik de BLY 94 tijdig kunnen verstoppen en deze heb ik nog steeds.
Stuurzendertje was ik wel kwijt, BF900 mosfet oscillator met 2 trapjes 2N2219 en 2N3866 PLL gestuurd.
Ben van plan weer wat te gaan experimenteren zodra mijn werkplaats gereed is, tegen die tijd eens kijken of er nog hobby-isten actief zijn??
Het blijft altijd kriebelen Marc, maar de boetes zijn zo enorm en met de kruismetingen van het AT en het nauwkeurig achterhalen van locaties, ook achteraf uit een opgenomen bandplan, neem ik het risico niet meer 🙂 Wat je nu wel ziet is 3,5 … 4,5 meter. 35 cm is ook leuk. Kleine Yagi en groot bereik…
Heerlijk dit soort verhalen te mogen lezen (Radio10, 60-70 hits op je kop) en dan terugdenken aan je puberteitsjaren (’72-’78) waarin de dames echt ondergeschikt waren aan je RF-hobby…;)!
Toen was de ether nog een heel stuk minder vol, anderzijds kende iedere woning een buitenantenne, kabel-tv ontwikkelde zich bescheiden tot op GAI-niveau.
Ondanks de eveneens bescheiden gewerkte vermogens van toen, zeg 50 mW tot 25 Watt (de zware jongens van toen met een QQE06/40), was de storingskans vele malen groter dan heden ten dage. Low- en bandpassfiltering was ons allen (toen nog) vreemd, werkelijk hele palenfabrieken gingen de lucht in.
Vele mast-versterkers gingen ‘over hun nek’, erg eigenlijk…, maar… wat was (is!) het een superhobby!
Het hele zenderlandschap is op de kop/schop gegaan. Europees overkoepelend is een nagenoeg volgepland spectrum ontstaan. Evengoed resteren er nog wat leuke (delen van) bandjes om ’te piraten’.
Ook in de FM-band is er ‘lokaal’ best nog wel ruimte om ‘als vroeger’ uren te duplexen, mits we met onze enorm gegroeide kennis van zaken van nu, antennespanningen beperken tot zeg 1 Watt ERP, daarbij zorgen voor perfecte filtering, goed aangepaste yagi’s (of een simple HB9CV), deze dan ook weer horizontaal polariseren (-20 dB tov omroepgebruikelijke V en Vd ;))…: geen ontvanger zal er over zijn nek gaan.
Met dat laatste tik je een vreemd fenomeen aan… De FM-ontvanger ‘van toen’ is qua selectiviteit en gevoeligheid vele male beter dan de ‘dove’ kabelontvanger van nu.., welke laatste qua amplitude en rasterafstand een prachtig gereguleerd spectrum voor zijn kiezen wil krijgen en daardoor geen last te hoeft te hebben van IMA.
Het vreemde zit hem nu daarin dat de af ZeroBase geproduceerde -nu draagbare- FM-ontvangers eigenlijk eenzelfde ‘slecht(verarmd)’ ontwikkeld frontend meekregen als de kabelontvanger, alsook een zo mogelijk nog veel slechtere IF-sectie, waardoor deze draagbare ontvangers een mega-slecht grootsignaalgedrag kennen.
De ontwikkeling van de FM- piraterij 2000-2018 is er dus een van door (helaas noodzakelijke) boetedeling steeds zwaardere zenders (om het verzorgingsgebied van al die geklusterde kleine piraatjes te dekken: beleid EZ/RCD-AT 100% verwijtbaar), maar ook omgekeerd evenredig de voor ontvangst van de etherzenders (waaronder nu ook de nieuwe stijl-etherpiraten) inzetbare draagbare verslechterde FM-ontvanger.
Het bijzonder slecht grootsignaalgedrag genereert enorm veel klachten.
FM-ontvangers door fabrikanten (CE-toverdoos) aangepast aan nu een keurig gereguleerd RF-landschap, derhalve (verantwoord?!) technisch uitgekleed, derhalve goedkoop en massaal aan te maken, zijn al voor 5 Euro verkrijgbaar bij Action…..
Tja had EZ /AT hier de ontvanger-kwaliteit moeten bewaken…., zeg het maar.
Beleid aanpassen, low power tx terug, interesse groeit daardoor weer onder de jeugd, goede impuls voor technische ontwikkeling…, ga zo maar door.
Als de FM- band in 2025 wordt verlaten lijkt het of we terug zijn in 1970…
We zijn dan 50 jaar verder….en ouder…, ook wij zijn dan 65 en ouder…, of we liggen al onder het funderinglevel van de masten van onze kleinkids…;)
Ha Hans, bedankt voor je mooie verhaal. Ik kwam toevallig gisteren een oud buurvrouw tegen. Zij woonde naast ons en elke keer als ik de zender aanzette, hoorde zij niks meer op haar klokradio in de keuken! Behalve mij dan 🙂 Dat lag uiteraard ook aan haar radio. Alhoewel, bij uitzendingen op de Kortegolf hoorde mijn buurman onder me weer op zijn Hammond. Ik geloofde het eerst niet, ging luisteren. Koptelefoon van het orgel op en warempel, daar klonk The Rare Earth met Get Ready! ha ha geweldige tijd was het. Inderdaad met klein vermogen en goede antenne is ook mijn devies, ook nu nog. Zoveel mogelijk QRP en het liefst analoog. Groeten en succes met de hobby, Kees PD8KDV
Ha die Kees, goh.. Dacht je eerst de bezem door mijn teksten zou halen.. Als ik eenmaal zit te mijmeren dan wordt het een lang brrelopend werkje, hahahaha.
Nou.. Je buurvrouw stuur je al gauw dicht hoor… Iedere ontvanger gaat over zijn nek boven de 110 dBuV…., de slechte piepen al bij 60-80…..;(.
Maar als je al ff uit de buurt vd zender zit, hoeft je frontend en IF het niet te begeven.
Ik zou me als handhaver oprecht enorm bezwaard voelen als ik plaatse klacht kom en zie dat er weer zo’n gedrocht van een prulontvanger in ellkaar is gestort…., maar goed ‘wet is wet en fout is fout’..maar dat is de radio technisch ook…, vertel,dan de ‘gestoorde’: “dat met een degelijk ontvangertje de klacht verholpen is ennnn bel a priori de illegale zenderboys, deze kopen er graag een voor je (van 50 euro).., das veruit goedkoper dan een boete af 2500!”….
Gewoon lekker QRP met een prima antenne! Uren kletsen zo der dat iemand wat kealijks merkt, en..je maakt er jongelingen weer enthousiast mee voor deze hobby!
Groeten Kees
Met een profline jaren gedraaid…… voor de buren. Nu via stream op internet.
Nog liefhebbers voor een 3-elements antenne?
He Marc, leuk dat ik mijn roepnaam hier weer eens tegenkom. Waren mooie tijden.
Stichting Wetenschappelijk Radio-onderzoek regio Rotterdam.
Groetjes, André.
Dit soort memo’s zijn juist leuk!
Ja ik wel voor de 3,5 meter
Ja ik heb interesse
Oude tijden herleven op de 3.5m band!
Zou mooi zijn als de oude garde uit de jaren 80 en 90 ook weer actief worden.
Lekker rapporten en met de techniek bezig zijn.
( Zou mooi zijn als de oude garde uit de jaren 80 en 90 ook weer actief worden. )
voor mensen rond om de * Nieuwe WaterWeg *
Veel van DIE OUDE GARDE zit nu op 2 meter! ( 144.725 )
Er is BIJNA altijd wel iemand daar aanwezig dus roep ff !
VrGr Radio IC
Bedankt Rob, zal ook eens naar die frequentie gaan bij gelegenheid. En de 3,5 meter is nu weer in trek…
Hier ook, naast de bestaande frequenties waar ik al jaren actief ben, de 3,5 meter band aan het onveilig maken (84-87MHz). Ben de laatste maanden al veel ‘oude knarren’ uit de jaren 80 tegen gekomen. Heb weer en forse antenne in de mast gehangen dus het hele land door is geen probleem.
Ik zal er geen kilowatter meer neer zetten net als 35 jaar geleden, maar een kwart daarvan geeft al voldoening…
Tot horens dan maar op 3.5meterband
SWR Rotterdam.
Blijft een leuke hobby!
Geinig, ik Harry dus, was de Bird uit Schiedam.
Hoi Marc,
Leuk jou bericht hier op deze site,nog de groetjes van de Tropical Leiden.
Ben nu actief onder de naam Felix op de 3.5 meter band 😉
Het is een leuke band ,met steeds meer (oud 3 meter) amateurs, hier in Leiden zijn er nu reeds 4 actief op 3.5m…
pas op de ruis..
Vandaag eventjes naar 3.5meterband geluisterd wist niet of het me zou lukken met een scanner,
Maar ja hoor toch heb ik er eentje kunnen horen op 85.8mhz en heel vaag nog twee andere gehoord.
https://www.circuitsonline.net/forum/view/152186
kun je nagaan twee stukjes draad van 1 meter op twee meter hoog en een scanner,
slechter kun je het volgens mij niet doen!
Maar er schijnen er nog genoeg te zijn kijk zelf maar:
https://www.youtube.com/channel/UCfbTk9WwJvd2rs9W4ikTJ_Q
ik zal gaan kijken voor een betere ontvanger en antenne,
beloven jullie dan dat je die Josty Kit, WZ5, Stentor of 4trapper weer uit het stof gaan graven?
Groetjes weer van Radio IC Vlaardingen
Leuke site, erg leuk om te lezen en soms zoek ik de nostalgie ook nog wel eens op. Zoals al vaker opgemerkt tussen de schrijvers, het merendeel is 50+ers 🙂 en ook ik hoor ondertussen tot die categorie, en in mijn jeugd was ik actief in Lisse. Mij staan de nachtelijke QSO’s bij om afstanden te kunnen draaien nog helder bij. In vergelijking met de hedendaagse vermogens en waar wij toen mee uitzonden was dat een hele prestatie. naast het QSO-en begonnen we ook een heus muziekstation in de weekenden. 40 watt 3 meter zenders ingraven in het Keukenhof bos, antennes in de boom en met een 480 Mhz relais verbinding de FM zender d.m.v. het stereo lampje aan en uitzetten, voor die tijd al redelijk innovatief. 🙂 Bij ons was plaatselijk de “RadioBeurs” de zaak waar steevast op donderdagavond ( koopavond) de lijstjes met onderdelen bij elkaar werden geharkt. Mooie tijd om nooit te vergeten.
Als we straks, bij leven en welzijn hopelijk, met pensioen zijn (als dat dan nog bestaat), dan halen we de hele handel weer uit de kast en zitten we, als 70’ers niet strak meer in het lichaam maar wel strak aan de band Don ha ha
Hoi Rob, ja als we straks met pensioen zijn gaan we weer los 🙂
Wat een mooie verhalen op deze site, was opzoek naar aansluitgegevens van een HDMI connector maar werd aangetrokken door de 3 meter link, knutselde zelf in de eind zeventiger tot begin 80 jaren heel wat zenders in elkaar waarmee met 10 watt in een FUBA 8 elements antenne mooie afstanden waren te overbruggen. De roepnaam was Albatros en de sport was destijds om een superieure geluidskwaliteit en zenderstabiliteit te hebben. In Den Bosch, waar ik toen woonde, waren heel veel stations aktief, de meeste op 101 MHz. Er is eens een keer een razzia geweest waarbij een groot aantal stations gelijktijdig huiszoeking is gedaan en een hoop apparatuur in beslag genomen is. Ook bij ons bracht de politie een bezoek, helaas voor hen was er niets te vinden…..De tip die we hadden gekregen klopte dus wel..
Het mooie in die tijd was dat je alles zelf moest bouwen, riep je over de band dat je even naar Mulders in de Orthenstraat ging voor onderdelen voor een nieuw project, dan kwam je daar vaak in een amateurmeeting aan.
Helaas kwam er ook steeds meer kant en klaar spul op de markt waarmee meer omroephobbyisten in de lucht kwamen.
Als ik alle bovenstaande verhalen lees denk ik weer aan die mooie tijd waarin alles mogelijk leek. Ik heb toen ook wel mijn zendmachtiging gehaald, maar dit kan niet tippen aan de 3 meter tijd.
Mooie herinneringen Jerry!
Ha Kees, ik dacht ik google nog even op mn oude naam, leuk !
Leuk. Erg leuk om al die oude bouwprojecten te zien !!
Ja Rob, time flies.
Leo (de RPV, die ken je denk ik ook nog wel), Martin (de Quo) en ik mijmeren nog wel eens over die tijd. En het bloed kruipt waar het niet gaan kan hè…
Groeten Kees
Geweldige nostalgie! Mijn verhaal is niet orgineel maar toch vertel ik het even.
Ik was 13 in 1978 toen ik begon met een babyfoon. De CAI was net aangesloten dus de oude TV antenne vanuit het dakraam aangepast tot 3 element richtantenne. Niet helemaal perfect qua SWR maar kwam er mee bij mijn vriendje van school zo’n 500 meter verder. En daar ging het om. Veel zitten duplexen met het maken van huiswerk.
Toch te veel ruis met die babfoon en toen een jostikit in elkaar gezet. Ik draaide altijd Jean Michel Jarre bij het afregelen. Hypnotiserend! Uiteindelijk ook de stentor die ik afregelde met een fietslampje, hoe feller het lampje brandde, des te meer vermogen. 🙂 Ik had wel last van brom, dus nog een elco parallel geschakeld, het hielp niet veel :0 En Duitsland 3 was niet meer te bekijken!
QTH was Brielle, je had er erg veel FM amateurs, en praatte ook veel met amateurs uit Oostvoorne men Rockanje, soms Hoogvliet.
Later met het vriendje van school 40 wat MRF 238 met PLL oscilator, stereo encoder en pre-emphaser en radio maken in het weekend met sponsoring van de lokale disco Copa Cabana. Radio Bristol. Er luisterde soms honderden mensen naar, geweldige tijd.
Gepakt door de RCD en toen wat rustiger aan.
Ook nog 27 MC gedaan maar dat was minder leuk. Nu zit ik op 70 cm maar wil ook weer kijken naar 3,5 meter maar moet iets met een binnenantenne want buiten kan hier niet, kijken of dat wat lukt. Eerst eens luisteren of hier wat activiteit is, nu QTH Delft.
Hoi Gerard, je bericht was tussen alle spam beland, dus wat later beantwoord dan gebruikelijk. Bedankt voor je leuke bijdrage! En wellicht spreken we elkaar een keer op 70 cm rechtstreeks dan wel via de repeater. 73′ Kees pd8kdv
Hallo iedereen.
Hier een berichtje van, Kees, een andere,
De Romeo Sierra uit Rotterdam(oost)
In de jaren 70 met een oscillator zendertje en ook de 3watt zender zitten spelen.
Toentertijd, ik dacht ’74-75-76 kon je de engelse taxicentrale horen en soms ook taxi’s, deze zaten boven de 100mhz.
In die periode kon je met enkele watts met heel Nederland dx-en. Afijn later met 5 trappers en bly87, 88 89, mrf238, , zelfbouw PLL en later ook de blx15(eind jaren 70 en halverwege de 80er jaren.) 12el Yagi op dak met een rotor van Channel Master dacht ik. Leuke tijden man! DXen en een keer een duplex verb met de stille genieter uit Harkema gemaakt. Ik bouwde meer zenders dan dat ik muziek uitzond. Meestal dx-en met vrienden uit Capelle en Krimpen ad IJssel.
2weken geleden een stereo zendertje gekocht. PLL, met display, Stereo met limiter/compressor ingebouwd, RDS via ttl serial, en de zender is programmeerbaar(50-75uS omschakelbaar , compressor/limiter audio regelbaar enz) voor 6 euro!!!!!!!!!!!!! Heb zojuist een bestelling gedaan van printplaat, folietrimmers, die dingen zijn schaars aan t worden) een paar transistoren, wo. de 2n3866 om het signaal van 1mw wat op te krikken. Zenderprintje hang je aan je pc, voeding en audio loopt dan via usb. Tis niet te geloven! Daar zaten we vroeger maanden aan te werken om zoiets zelf te maken
Hoi Kees,
Geweldig verhaal. Tegenwoordig gaat alles een stuk makkelijker dan ‘vroeger’. In het prille begin moest je best nog wel wat doen om alles bijvoorbeeld bromvrij te krijgen. Nu stuur je minimaal vermogen in een mosfet waarna je een enorme bak vermogen tot je beschikking hebt. Toch mooi dat we die tijd, waar alles wat meer moeite kostte in veel opzichten, hebben meegemaakt! Groeten Kees
Jee wat leuk dit allemaal terug te zien, op een enkele na dan….
Martin Quo hoe is het? Rob de IC, kwam ik ook vaak over de vloer dé techneut destijds. Werd jij niet gekoppeld aan Trude de zus van Jaco?
Wat een teringzooi hebben we gemaakt destijds oooh oooh oooh, de gekste mensen in de nacht opbellen en doorsturen. Uren duplexen met die ouwe Henk de senior, is al lang dood natuurlijk, volgens mij had hij een zoon ene André die ook piraat was…. Die gekke bakkies ernaast met die mafkezen van Koen en Jaco, zijn nu meer familie dj’s mixers.
Ik sprak toevallig gisteren D5Jos een oude buurman 100m verder destijds, ja ik luister ook mee op .725 maar eigenlijk mag ik (nog) niet mee doen, komt nu echt verandering in hoor H I
Geoff Lucky Star spreek ik nog vaak, ouwe trainingsmaat, de andere groep mag van mij…….wat kun je mensen leren kennen soms, triest. Rob HLE spreek ik ook via medium, wat een spullen hebben die zeg. Ik heb overigens alles nog hoor, 4cx250 voor 3m dikke eindtrappen voor 35cm wie zoekt er ook alweer wat? 3,5m doe ik niet meer aan mee. Remco zag ik ook langs komen, leuk ook nog eens thuis geweest. Die gekke tijd op 60cm met Sjors(verkenner) op de meetings, ondertussen werd zijn overigens lekkere wijf gepakt door wat lui uit Rozenburg haha, als Sjors van huis was…..
RCD wil ik niet meer zien, wat een kwal was die van Kampen en Co.
Oja, wie wil bij mij de boel eraf halen? Ik ga terug naar AF, daar kan ik zelf wel erop klimmen, hier hoogtevrees…. Je zoekt maar wat uit voor de hulp eindtrapje of zo…
Ben nu aan het verzamelen voor legale meuk, staat nu Yeasu ftdx10 met Kenwood TL922, audio ervoor symetrix 528E met RØDE Broadcaster, voortaan enkel met (gloeiende)draadantenne en rondstraal X5000 voor hogerop.
Nog wat namen van de 3….Montana, Monopool, Quebec, BWQ, Phantom, LS(star) TR nog iets…en Qua natuurlijk
Maar nogmaals leuk al die namen uit de jaren eind 70 en 80 t/m heden, veel heren van de groep Delft EO zitten op ATV 23-13cm-3cm, heb ik ook maar doe ik niets meer mee. Ik heb ook nog Orban en Gtek atf3 spul 3X doelloos hier liggen.
Piet Quakk, ik heb zijn oude magazijn pas nog opgeknapt voor de nieuwe bewoner op de markt.
Nu verkoopt die lange rode John zo’n beetje alles via MP van Piet. Pfff kan wel uren hier doorlullen, ondertussen denken jullie wie is dat nou….haha. Voor de rest hier….gelukkig getrouwd en kinderen, compleet dus.
gegroet…
Hi VLEKKENWATER,
doe lucky star de groeten van mij.
jan BWQ
Hoi Jan BWQ, wat leuk, hoe is het met de Spons? Hoorde van de andere brandweer Jan dat je al contact had gelegd via QRZ. Ik zal hem de groeten doen. Ik rij nog wel eens langs je huis, of die plek dan haha, alles weg natuurlijk daar.
Mooie tijd was dat met Monopool enz…
groet Vlekkie
LS = QRV
Grappig om alle verhalen te lezen.
Weet nog dat ik begon met een 2219 jostikit, gemaakt door omega Vlaardingen in een strepsels-doosje met als antenneplug een luidspreker plug en een koperstaaf op maat gemaakt als antenne hangend in mn gordijn voor het raam. Van de coaxkabel was alleen de kern aangesloten 🙂
Daarna een 4 trapper met 2x bf194 1x 2219 1×3553 en een open dipool, een 5 trapper met 2x bf194-2219-3866-3553 later met BLY87 en 5 elements met rotor, later vervangen door de bekende vlakke 9 elements yagi.
Ik woonde op de 3e etage van een flat en had nog geen rotor, ik flikte het om tijdens condities mn raam uit te glippen en via de deur van 4e etage op het dak op te kimmen en sluipend over het grind (dak van de 4e etage) mn antenne richting zuid te draaien..wtf
Later dus een rotor en mn coax kabel via de regenpijp die van de 4e naar de bg ging, te trekken. Op 3e de regenpijp een stukje open gezaagd en de kabel er uitgevist en zo naar mn kamer gehaald.
Mn spullen zijn 1x door de politie in beslag genomen. Ik was zelf niet thuis en was alleen mn 5 trapper en nog iets kwijt. Mn vader zei..dat is van mij en dat en dit en ze hebben het nog ook laten staan.
Als het goed is heb ik nog ergens mn power/swr meter en stereocoder en mn QSL kaart liggen (made in de pannekoekstraat Rotterdam)
Heb het in beslagname krantenknipsel ook nog ergens.
Nog wat naampjes
Gompie Vlaardingen
Matha Hari Schiedam
Sponsie Vlaardingen (broertje BWQ)
Arrow Delft (wat was die gast altijd hard)
Monopool Vlaardingen en Schiedam
Papa Delta Schiedam
Phantom Vlaardingen (zie ik nog regelmatig)
Zag nog eens verder graven in mn geheugen
Ok ik ga closing down hier 😉
Kan ik hier ook fotos plaatsen?
Heb mn kranten artikel van inbeslagname gevonden 🙂
Ja, als het goed is kan dat vanaf nu. Dus probeer het even uit.
25 febr 1981
Zender in beslag genomen 😪
25 febr 1981
Mijn eerste echte publicatie 😁
Bedankt voor het posten Geoff!
@Kees, 41 jaar oud….wie wat bewaard heeft wat 😁
Ja, leuk, wel grappig dat veel lokale stations, de meesten met hun toenmalige naam, een andere met een synoniem, dit blog vonden. Ik heb overigens het idee dat iedereen in een handomdraai alles kan afstoffen en aan kan zetten 🙂
Schuur ingedoken en na 2 kratjes bekijken mn oude PWR/SWR meter gevonden. Coder etc. is waarschijnlijk met het verhuizen weg gedaan.
Nu nog ff nadenken waar mn QSL kaart is gebleven, moet m nog hebben want heb m nog aan mn kids laten zien. Heb ook nog oude tapes liggen met opnames van DX verbindingen en boeren die je tijdens de condities ontving, want je moest natuurlijk bewijs hebben. Zag mn Gündig T3000 (gevoeligheid 0,5uV) ook nog in de schuur 😇
Die T3000 is een mooi ding, ik zou zeggen lekker bewaren! Mijn tuner is helaas, tijdens een opruim bevlieging, op Koningsdag voor een prikkie van eigenaar gewisseld.
Lachen zeg, ik heb ook alles nog hier en meer inmiddels, van HF tot 10 Gig.
Als je nog een 3 meter zender wil roep maar Geo uhh Piet.
Veel vermogen kan ik niet neerzetten als je het vergelijkt met wat ze tegenwoordig flikken, max een 800W rond 1 Ghz hier met 8 torren parallel of wat 4cx’en voor 3 en 2 meter.
Die nieuwe 3,5 meter band is nu helemaal hot, maar daar begin ik maar niet aan. Ze gebruiken daar complete 3 tot 5Kw fabrieks eindtrappen, dat is niet leuk meer om tegenop te zenden, daar moet je 380V voor aanleggen….
Kees, je had die tuner nooit moeten weg doen, eet toch geen brood zo’n ding….
Maar zat jij ook wel eens met ouwe Henk senior te plexen dan? Ik kwam geregeld bij die ouwe thuis, kreeg al hoogtevrees op zijn gallerij pffff.
Gegroet
Inderdaad Marcel, maar ja. Weg is weg. Dat QRO geweld, ook op HF, slaat nergens op. Pak dan gewoon de telefoon. Liever QRP…
Mn Nakamich BX-2 deck uit de schuur gepakt incl. 180 tapes…dat is weer genieten van 80’s-90’s muziek Hierbij wat oude DX opnames. Heb het even met mn mobile bij de luidspreker gedaan, zal het tzt digitalizeren.
Have fun 😁
Zou het niet leuk zijn om een forum of een facebook groep aan te maken zodat er meer interactie is?
Nu ziet eigelijk niemand of er iets gepost is 🤷🏾♂️
Mss dat jij de mensen hier naar de groep kan halen aangezien jij de email adressen kan zien 😉
Zal tussendoor eens kijken of bbPress iets is als forum app.
In 2021 was bij Stichting Onterfd Goed in Eindhoven veel zendapparatuur te koop dat afkomstig was van het Jan Corver museum in Budel, daar zag en kocht ik onder andere een illegale fm zender die in beslag genomen was en dus vernietigd zou moeten zijn.
Het werd verkocht als radio in blikje maar ik herkende het meteen als de 5 watt Stentor fm zender, afkomstig van de illegale zender Rijswijk 1 waar het kennelijk ooit in beslag werd genomen, deze zender stond eerder ook al in de tentoonstelling In En Uit De Lucht in het PTT museum in Den Haag en later dus in het Jan Corver museum in Budel.
Het werd samen met heel veel andere zendapparatuur geschonken aan Stichting Onterfd Goed in Eindhoven waar het allemaal voor een heel zacht prijsje aan het publiek te koop werd aangeboden.
Waarmee maar weer eens bewezen is dat het aan het verkeer onttrekken en vernietigen van illegale in beslag genomen zenders een fabeltje is!
ZIE FOTO 1 EN FOTO 2
FOTO 1
Bedankt voor je bericht! Leuke foto’s.
Zelf nooit een stentor gehad maar herkende m wel meteen
Tja tis geen 3 meer maar 3.5 Meter ongeveer 84 tot 86MHz WFM
heb zelf al even getest met een oud 4 Trappertje, het werkt!
VrGr Rob
Ja, leuke frequentie Rob.
Leuk om deze nostalgische informatie terug te lezen!
Beste Groet
André
ex Radio Caroline
Schiedam
5 seconden voor de plug en pas op de ruis!
Er werd ergens geschreven over een Forum voor WFMertjes,
Misschien is dit wat:
https://dxrapporten.com/
VrGr Rob
Nog een oude opname gevonden 💪🏾
Was op zoek naar een voeding in de schuur (niet gevonden dus ) en kwam ‘m eindelijk tegen…mijn QSL kaart gemaakt in de Raephorststraat 165 Rotterdam. Helaas niet in de staat waar ik op gehoopt had (lag onder dozen op een plank), maar beter iets dan niets.
Ik heb het zend virus te pakken en ben binnenkort op de 3.5m te vinden. Wie ga ik daar zien?
Ha Geoff, leuk die kaart! Old memories. 3,5 meter… ik heb hier nog een 200 mW en 6 Watt bouwpakket van Wouter alleen die liggen hier al een paar jaar bij gebrek aan tijd. En HF (legaal) trekt nog iets meer 🙂 Maar ik zet ze een keer in elkaar en kom er op 3,5 een keer mee in de lucht, ooit 🙂
Ik ben met Wouter bezig, isnhandig want woont ook dichtbij
Ik wil een 6 watt blikje en stereocoder van m en ga deze zelf inbouwen. Daarna zelf een eindtrapje maken van 50 of 100 Watt. Antenne zal gewoon een dipool worden want heb geen ruimte en wil ook geen yagi op mn dak.
Heb wel een leuke old school Technics st-7600 (07,uV gevoelig bij 75dB select) uit japan gescoord. In japan is de 3.5m gewoon de fm, dus straks gewoon net als vroeger draaien aan de grote tuning knop.
Ben nog wel op zoek naar wat spulletjes dus wie o wie help de LS in de lucht 😉
Wat een gave tuner zeg, geweldig. Blijft allemaal kriebelen he. Ik dacht eerst een SlimJim te gaan gebruiken voor als het moment daar is. Maar die wordt nogal lang, dus het zal ook wel een dipool worden!
Ik ben net malle Pietje met spullen bewaren van vroeger (behalve 3 meter spullen dan), maar ben niet de enige die bijvoorbeeld ook deze kaarten nog heeft.
QSL van Sponsie, BWQ, Monopool, Whale etc.
Naast de Technics ST-7600 kon ik het niet laten om ook een Japanse Trio (Kenwood) KT-7700 uit Japan hierheen te halen (nog onderweg). Vroeger was de KT-8300 ” the shit”, deze is nog een tandje beter met zn 0.8uV en 110dB selectiviteit. Het is een only FM tuner met een freq. bereik van 76-90Mhz. Dus 3.5m, ik ben straks QRV 😉😎
dag Geof,
kt 8300 doet het nog steeds hier ,nieuw gekocht toen, pff lang geleden.
qsl kaarten van mij leuk heb ze zelf niet meer.
bwq
Prachtig. Ik heb hier tussentijds een Sony ST-SB920 op de kop kunnen tikken, mooi ding ook, 76 – 90 Mhz en afgeregeld volgens specs, maar dit wel het echte werk!
Oh geweldig deze verhalen,
zit momenteel met Covid thuis en dan ga je maar wat googlen en dan komt dit op je pad!!! Heerlijk!
Ben zelf 3 mtr freak geweest in de jaren 80 en kom zoveel herkenbare dingen tegen hier, was een hele obsessie toentertijd.
M’n eerste zendertje was een zelfbouw oscillatortje met microfoontje en een los draadje als antenne wat weer mooi paste in een lucifersdoosje van zwaluw, hahaha, wat uiteindelijk uitgroeide tot een 5 traps stuurzender (en ik heb er wat gebouwd!) met daarachter een BLY 89 als eindtrap op een groot koelblok en dat stond dan weer in Tupperwarebak gevuld met water!!
(OMG, alles komt zo weer bovendrijven merk ik alweer) En dat allemaal in stereo uiteraard, was echt genieten 🙂
Heel veel nachten plezier gehad en heel veel geduplexed met locals uit de omgeving Vlaardingen en daar buiten,
nu ik daar aan denk was het zeker een leuke tijd!
Voor de langere afstanden zat ik hoofdzakelijk alleen richting Zeeland en een stukje Brabant (kon niet anders), en dat deed ik met een 5 elements richtantenne met een balun eronder, vanaf de 8e etage richting Zuidwest, zat meestal ergens tussen de 102 en 104 mhz in de ether.
Ben nog wel eens bij de Barracuda in Maasland geweest, deze had wel leuk kacheltje staan daar, echt vet!
Lucky Star, zal ik zeker ook wel eens gesproken hebben, het waren er zoveel in die tijd, de Senior uit Vlaardingen sprak ik ook regelmatig en zo velen anderen,
Hopelijk zullen er meer amateurs zijn net als ik, die deze geweldige site ooit eens passeren en zich weer even een 3 mtr puber voelen en willen delen
Met vriendelijke groet,
ps, heb nog wat foto’s toegevoegd
Tropica uit Vlaardingen.
Ha Peter, bedankt voor je bijdrage en foto´s! Ziet er bekend uit! 3 en een halve meter is nu aardig actueel onder de betreffende groep 🙂
Hoi Kees,
ben idd al wat dieper in die 3.5 mtr stof gedoken van jullie, en moet zeggen het begint al aardig te kriebelen hier!
Eerst maar eens op zoek gaan naar een goede Tuner, dan volgt de rest vanzelf ben ik bang 😂
Heb al wat DX rapporten voorbij zien komen (met bekende namen!) Dat wekt bij mij wel de nieuwsgierigheid op moet ik zeggen!
Dus Kees,
wordt vervolgd 😎
Hey BWQ Jan hoe is het…leuk!
De kt-7700 tuner is inmiddels binnen en ook mijn zender is gereed, 8 watt, stereo met een active pre-emphase.
Ben er klaar voor..wie volgt?
Mijn old school 3.5m band tuners (1975 en 1977).
Let op de frequentie band 😎
built like tanks. Mooi spul!
Ik herinner mij, uit de eerste helft van de jaren 70, vooral CSR ( Communicatie Station Rotterdam) en ook de TDK uit Rotterdam.
Mijn nieuwe Trio (Kenwood) 3.5m tuner (tank van 12kg).
Defect gekocht in Japan en hier zelf gefixed (trafo, IC en div leds vervangen.
Mn vorige 3.5m Trio KT-7700 heb ik verkocht
Hey LS! Een heel mooie en degelijke DX tuner. groeten Kees
overigens, hier luister ik naar in de huiskamer ha ha, Radio Caroline 648. Van mij mag al het moderne spul de deur uit.
Haha..mooi spul.
Het hoesje maakt het af 😉
Wat ontzettend leuk, hier zo veel te lezen over Radiohuis Dirk vd Bend en Kwakkelstijn in Vlaardingen. Ook de jonge prutsers waren welkom bij Dirk vd Bend, ook als we maar één weerstandje kochten. Hij had ook de gekste dingen gewoon liggen. Hij wist overigens ook heel erg veel over onderdelen. Heb er vanaf mij 6e jaar flink wat gekocht. Begon met de Pionier1. En natuurlijk buizen testen voor 25 cent per stuk. Die tester stond links op de toonbank. Wat was dat soms spannend. Gaat de naald omhoog of niet… Een nieuwe buis was toen al gauw 19 gulden. Rechts naast de deur hing een glazen vitrine aan de muur met technisch leuke boeken, daar staan er zeker een stuk of zes nog van in mijn boekenkast. De boeken met Professor Weetal and Vraagal, maar ook het boek van Menno vd Veen over schakelingsontwerp kocht ik daar. Ik leerde Menno wel 30 jaar daar na, persoonlijk kennen, in Denemarken. De wereld is zo klein 🙂
@ Gerard
27 augustus 2021 om 23:30:
Derk hier, alias Ferry Key, Radio Bristol 103 MHz FM, Locatie Brielle, later nadat ik de eerste keer gepakt ben verder gegaan als Alcazar Radio. Zeker een mooie tijd! het kriebelt af en toe nog 🙂
Zoooo wat een bak nostalgie hier, ik zie allemaal bekende namen langskomen, zoals al eerder benoemd door Marc ‘Electron Uden lelijken vis’🤣 ben ik ooit in Maasland begonnen begin jaren 80 met een Jostykit en geeindigd in Uden met een 4CX250 (inbeslagname) Van de Bend in Vlaardingen heel wat keren vanuit Maasland gefietst om transistoren te kopen. Verhuisd naar Uden medio ’88 en daar nog wat jaren actief geweest. 2mtr licentie gehaald en daar nog wat jaren mee bezig geweest. Na omzwervingen in Nederland en zelfs België nu woonachtig in Roden. Hobby nu Astrofotografie dus een hele andere golflengte😜 Grt. Robert
Ha Robert,
Jij zat toch in Maasland ook al met die 4CX? Dat staat mij in elk geval bij.
Groeten Kees
Ha Derk, je zat tussen alle spam berichten dus vrij laat gezien. Bedankt voor je reactie!
Hi Kees, dat klopt helemaal van de 4CX en ik kwam eigenlijk per toeval op deze site terecht, zocht een naam uit het verleden en kom er nu heeeelll veel tegen…hahaha
Grappig zeg. Het moet zo rond 1981 zijn geweest. Als 13 jarige zat ik met een 3 in 1 installatie, zo´n ding met een radio, platenspeler en cassetterecorder, van Philips. En op een draadje kwam jij altijd keihard binnen. Maar ja, Vlaardingen, dat was bijna om de hoek, maar maakte wel indruk. Toen begreep ik nog niet helemaal dat je nagenoeg bromvrij kon werken met zo´n enorme bak vermogen. Zat toen zelf nog in de veredelde yostikit fase. Nu is dat vermogen een fluitje van een cent met die MOSFETS en relatief kleine geschakelde voedingen. En op 3,5 gaat men daarmee aardig los. Leuk dat je gereageerd hebt!
Haha, bromvrij dat lukte redelijk maar dat was omdat de antenne redelijk op afstand stond Kees. De 4CX stond in een inbouwkast en lag op een kussen van een bankzitting om trilling en geluid te dempen zodat de rest van de familie daar geen last van had🤣 De 4CX kwam van de Arrow(Jan) uit Delft en is deze samen met andere Jan de Arena nog komen brengen indertijd. Het lijkt gisteren maar ik ben inmiddels ook al 60 maar superfit hoor😁 p.s. kijk eens naar de tijd waarop je reageerde…wederom een nostalgisch getalletje…
Hallo
Zou iemand mij kunnen helpen.
Ik heb een zender gekocht,
Maar ik zie nergens een ingang voor audio.
B.v. om mijn zender aan te sluiten op mijn pc.
Zie foto;s b.v.d Wim.
IMG_0603
Wim, is het niet die BNC connector links aan de binnenzijde? Doorgaans zijn het op hobbyzenders tulp (althans in mijn tijd) of 3,5 mm Jack chassis aansluitingen, BNC vaak bij professionele apparatuur, lekker robuust. Groeten, Kees
Wat is dat gaaf! Ook ik was in die tijd in Vlaardingen (Holy) actief op de 2m onder de naam Supernova. Gompie ken ik en Stardust en Tokay. Bij de laatste ben ik nog weleens thuis geweest in zijn flat tegen Schiedam aan. Decibel (Roel) is er ook één uit die tijd. Ik had ook een Stentor en ben later in stereo gaan zenden. De encoder was op basis van de TCA240 en die heb ik tijdens mijn stage bij Philips gebouwd. Ik had onbeperkt toegang tot componenten en dat was een luxe. Ik heb net als alle anderen een superleuke tijd als 3m piraat gehad. Een natuurlijk vaste klant bij vd Bend (met de sigaren rokende vader) in het super kleine winkeltje waar je je kont niet kon keren vooral niet op de zaterdag 😂
73, de PE9B (Egbert)
Ha Egbert, bedankt voor je leuke verhaal! MIsschien spreken we elkaar een keer op 2 of 70 groeten, Kees PD8KDV
Dag allemaal,
Mooi om dit allemaal te lezen prachtig die tijd zelf jaren radio Piraat geweest radio torero vanuit Nunspeet de Veluwe heel wat verbindingen gemaakt door heel het land en diverse metingen bezocht. Maar als je eenmaal met virus in aanraking bent gekomen kom je er nooit meer vanaf.
Ik groet jullie van uit het Harde kees
Heey
Collegas van de 3 meter band
Groetje van jongeboer uut uddel op de Veluwe
Leuk deze site
Mvg vajongenboer uut uddel